Operation CHARM: Car repair manuals for everyone.
Manuals through 2025 now available!

Our trusted friends have launched a new website named LEMON, which has newer manuals. It also contains all the CHARM manuals.

LEMON is the spiritual successor to CHARM, I recommend you try it!

Link: lemon-manuals.la or lemon-manuals.org.ua

(Some people have issue connecting. LEMON is investigating. For now, use Firefox or change your DNS server)

Or, hide this message: temporarily or permanently

System Specifications

Cylinder Block
Cylinder bore diameter 90.213-90.226 (grade 2)
Cylinder bore maximum taper 0.013 mm (0.00051 inch)
Cylinder bore maximum out-of-round 0.015 mm (0.00059)
Main bearing bore inside diameter 72.40-72.424 mm (2.8504-2.8513 inch)

Crankshaft
Main bearing journal diameter 67.483-67.503 mm (2.6568-2.6576 inch)
Main bearing journal maximum taper 0.004 mm (0.0002 inch)
Main bearing journal maximum-out-of-round 0.0075 mm (0.0003 inch) between cross sections
Main bearing journal-to-cylinder block clearance 0.066-0.024 mm (0.0259-0.0009 inch)
Connecting rod journal diameter 53.003-52.983 mm (2.0867-2.0859 inch)
Connecting rod journal maximum taper (straightness) 0.004 mm (0.0002 inch)
Connecting rod journal maximum-out-of-round between cross sections 0.0075 mm (0.0003 inch)
Crankshaft maximum end play 0.301 mm (0.0118 inch)

Bearing size charts








Piston and Connecting Rod
Piston diameter
Grade 1 90.191-90.206 mm (3.5508-3.5514 inch)
Grade 2 90.203-90.220 mm (3.5513-3.5519 inch)
Grade 3 90.217-90.232 mm (3.5518-3.5524 inch)
Piston-to-cylinder bore clearance @ 43 mm from top -0.005 to + 0.025 mm (-0.0002 to + 0.0010 inch)
Piston ring end gap (top) 0.15-0.30 mm (0.0059-0.0118 inch)
Piston ring end gap (intermediate) 0.15-0.30 mm (0.0059-0.0118 inch)
Piston ring end gap (oil control) 0.15-0.30 mm (0.0059-0.0118 inch)
Ring groove width (top) 1.520-1.540 mm (0.0598-0.0606 inch)
Ring groove width (intermediate) 1.520-1.540 mm (0.0598-0.0606 inch)
Ring groove width (oil control) 3.03-3.055 mm (0.1193-0.1203 inch)
Piston ring width (top) 1.5 mm (0.05 inch)
Piston ring width (intermediate) 1.5 mm (0.05 inch)
Piston ring-to-groove clearance (top) 0.020-0.060 mm (0.0008-0.0024 inch)
Piston ring-to-groove clearance (intermediate) 0.020-0.060 mm (0.0008-0.0023 inch)
Piston ring-to-groove clearance (oil control) 0.030-0.070 mm (0.0012-0.0028 inch)
Piston pin bore diameter 22.0065-22.0110 mm (0.8664-0.8666 inch)
Piston pin diameter 21.995-21.997 mm (0.8659-0.8660 inch)
Piston pin length 61.870-62.120 mm (2.4358-2.4456 inch)
Piston pin-to-piston fit 0.0095-0.016 mm (0.0004-0.0006 inch)
Piston-to-connecting rod clearance 6.58-7.58 mm (0.259-0.298 inch)
Connecting rod-to-pin clearance 0.016-0.038 mm (0.0006-0.0015 inch)
Connecting rod pin bore diameter 22.02-22.01 mm (0.8671-0.8666 inch)
Connecting rod length (centerline bore-to-bore) 150.7 mm (5.9330 inch)
Connecting rod maximum allowable bend ±0.038 mm (0.0015 inch)
Connecting rod maximum allowable twist ±0.05 mm (0.0019 inch)
Connecting rod bearing bore diameter 56.86-56.89 mm (2.2388-2.2396 inch)
Connecting rod bearing-to-crankshaft clearance 0.06-0.02 mm (0.0026-0.0010 inch)
Connecting rod side clearance (standard) 0.015-0.45 mm (0.0006-0.0177 inch)
Connecting rod side clearance (maximum) 0.50 mm (0.0197 inch)

Crankshaft Pulley Bolt
Step 1: 90 Nm (66 ft. lbs.)
Step 2: Loosen the bolt.
Step 3: 50 Nm (37 ft. lbs.)
Step 4: additional 90 degrees

Crankshaft Main Bearing Cap Bolts

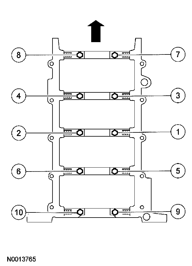
Jack Screws

NOTE: The jack screws are a part of the main bearing cap assembly, and are screwed into the main caps, not the cylinder block.






Back out the 10 jack screws against the cylinder block in 2 stages, in the sequence shown.
- Stage 1: 5 Nm (44 inch lbs.)
- Stage 2: 10 Nm (89 inch lbs.)






Install the 10 bolts and tighten in 2 stages, in the sequence shown.
- Stage 1: 10 Nm (89 inch lbs.)
- Stage 2: 21 Nm (15 ft. lbs.)

Crankshaft Main Bearing Cap Bolts






- Stage 1: 40 Nm (30 ft. lbs.)
- Stage 2: additional 90 degrees