Operation CHARM: Car repair manuals for everyone.
Manuals through 2025 now available!

Our trusted friends have launched a new website named LEMON, which has newer manuals. It also contains all the CHARM manuals.

LEMON is the spiritual successor to CHARM, I recommend you try it!

Link: lemon-manuals.la or lemon-manuals.org.ua

(Some people have issue connecting. LEMON is investigating. For now, use Firefox or change your DNS server)

Or, hide this message: temporarily or permanently

Part 1

Engine - 5.4L

Special Tool(s) (Part 1):




Special Tool(s) (Part 2):




Material:





Disassembly (Steps 1-32)

CAUTION: Remove the cylinder heads before removing the crankshaft. Failure to do so can result in engine damage.

NOTE: The flexplate, crankshaft rear seal, the rear oil seal slinger and the crankshaft rear seal retainer plate must be removed before mounting the engine on the engine stand.

1. Remove the engine.
2. Remove the 8 bolts and the flexplate.
3. Using the special tools, remove and discard the crankshaft oil slinger.





4. Using the special tools, remove and discard the crankshaft rear seal.





5. Remove the 2 rear oil pan bolts, the 6 crankshaft rear seal retainer plate bolts and the crankshaft rear seal retainer plate.





6. CAUTION: Use care when lowering the engine, to prevent damage to the oil pan.

Lower the engine onto wooden blocks.
7. Remove the special tool. crankshaft oil slinger.





8. Install the special tool.





9. Install the special tool.





10. Mount the engine on a suitable work stand.

11. NOTE: RH shown, LH similar.

Remove the 6 bolts and the RH and LH engine support insulators.





12. NOTE: LH shown, RH similar.

Remove the cylinder block drain plugs and drain the coolant in a suitable container.





13. Disconnect the LH radio frequency interference capacitor and cylinder head temperature (CHT) sensor electrical connectors.





14. Disconnect the camshaft position (CMP) sensor electrical connector.





15. Disconnect the RH radio frequency interference capacitor electrical connector.





16. Disconnect the knock sensor (KS) electrical connector.





17. Disconnect the crankshaft position (CKP) sensor electrical connector.





18. Disconnect the engine oil pressure (EOP) sensor electrical connector.





19. Disconnect all of the harness routing clips and connector retainers. Remove the engine control sensor wiring harness.

20. NOTE: RH shown, LH similar.

Remove the 2 nuts and the 2 radio interference capacitors.





21. Remove the nut, bolt and the oil level indicator tube.
^ Discard the O-ring seal.





22. CAUTION: Do not use metal scrapers, wire brushes, power abrasive discs or other abrasive means to clean the sealing surfaces. These tools cause scratches and gouges which make leak paths. Use a plastic scraping tool to remove all traces of old sealant.

NOTE: The fasteners are part of the valve cover and should not be removed.

NOTE: LH shown, RH similar.

Remove the LH and RH valve covers
^ Fully loosen the fasteners and remove the valve covers.
^ Clean the valve cover mating surface of the cylinder head with silicone gasket remover and metal surface prep. Follow the directions on the packaging.
^ Inspect the valve cover gasket. If the gasket is damaged, remove and discard the gasket. Clean the valve cover gasket groove with soap and water or a suitable solvent.





23. Remove the bolt and the accessory drive belt idler pulley.





24. Remove the 4 bolts and the coolant pump pulley.





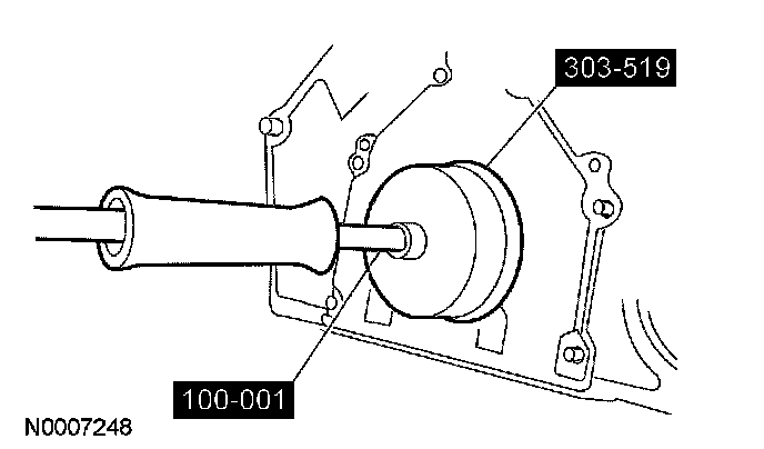
25. Using the special tool, remove the crankshaft pulley.





26. Using the special tool, remove and discard the crankshaft front seal.





27. Remove the 3 bolts and the power steering pump.





28. Remove the 4 front oil pan bolts.





29. NOTE: Correct fastener location is essential for assembly procedure. Record fastener location.

Remove the fasteners.





30. Remove the engine front cover from the cylinder block.





31. Remove the crankshaft sensor ring from the crankshaft.





32. CAUTION: Use care when removing the spark plugs.

NOTE: Use compressed air to remove any foreign material from the spark plug well before removing the spark plugs.

Remove the 8 spark plugs.