System Specifications
Cylinder HeadCylinder Head Gasket Surface Flatness
0.05 mm (0.002 inch) per 51 mm (2 inch)
0.10 mm (0.004 inch) per total surface area
Cylinder Head Thickness - Minimum 95 mm (3.74 inch)
Exhaust manifold warpage - maximum allowable clearance (cold) 0.0762 mm (0.003 inch)
Intake Manifold Warpage
Between ports 0.13 mm (0.005 inch)
Total 0.25 mm (0.0010 inch)
Cylinder Head Bolts
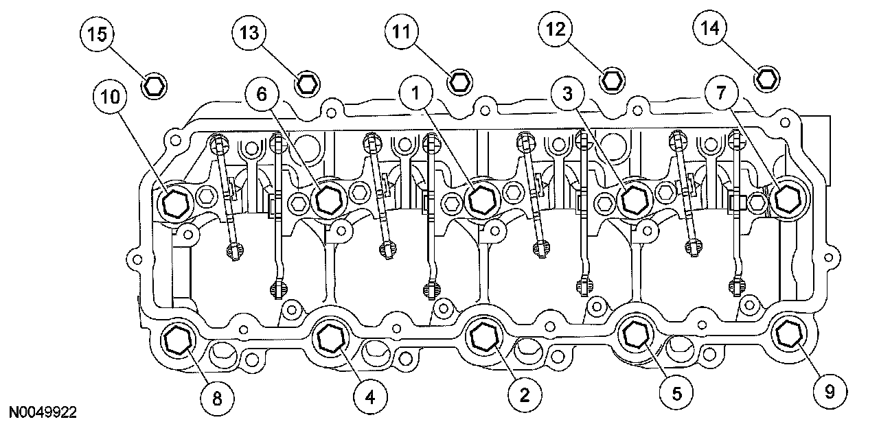
Remove and discard the 20 head bolts from both cylinder heads.
First pass: bolts 1-10 88 Nm (65 ft. lbs).
Second pass: bolts 1-10 115 Nm (85 ft. lbs).
Third pass: bolts 1-10 90°
Fourth pass: bolts 1-10 90°
Fifth pass: bolts 1-10 90°
Sixth pass: bolts 11-15 24 Nm (18 ft. lbs).
Final pass: bolts 11-15 31 Nm (23 ft. lbs).
Intake Manifold Bolts
First pass: Loosely install bolts 1-8
Second pass: Tighten bolts 9-16 11 Nm (8 ft. lbs).
Final pass: Tighten all bolts 11 Nm (8 ft. lbs).
Exhaust Manifold Bolts 38 Nm (28 ft. lbs).
Start installing the bolts with the second bolt from the rear on the top. The hole diameter is smaller, therefore allowing alignment of the remaining bolts.