Operation CHARM: Car repair manuals for everyone.
Manuals through 2025 now available!

Our trusted friends have launched a new website named LEMON, which has newer manuals. It also contains all the CHARM manuals.

LEMON is the spiritual successor to CHARM, I recommend you try it!

Link: lemon-manuals.la or lemon-manuals.org.ua

(Some people have issue connecting. LEMON is investigating. For now, use Firefox or change your DNS server)

Or, hide this message: temporarily or permanently

Leak Detection Valve: Service and Repair

EVAPORATIVE EMISSION CANISTER VENT SOLENOID


Aft-Of-Axle Fuel Tank (Part 1):






Aft-Of-Axle Fuel Tank (Part 2):






Midship Fuel Tank (Part 1):






Midship Fuel Tank (Part 2):






Exploded View


Removal and Installation

WARNING: The evaporative emission system contains fuel vapor and condensed fuel vapor. Although not present in large quantities, it still presents the danger of explosion or fire. Disconnect the battery ground cable from the battery to minimize the possibility of an electrical spark occurring, possibly causing a fire or explosion if fuel vapor or liquid fuel is present in the area. Failure to follow these instructions may result in personal injury.

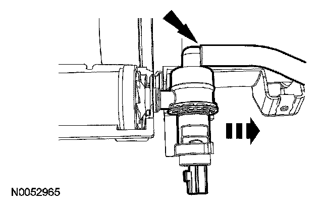
NOTE: Midship fuel tank evaporative emission (EVAP) canister shown, aft-of-axle fuel tank EVAP canister similar.

All vehicles
1. With the vehicle in NEUTRAL, position it on a hoist.
2. Disconnect the battery ground cable.
3. Remove the spare tire.







4. Disconnect the EVAP hose and tube quick connect coupling.







5. Disconnect the EVAP canister vent solenoid electrical connector and harness retainer.

Van/wagon vehicles
6. Remove the heat shield bolt.
- To install, tighten to 18 Nm (13 lb-ft).

7. Remove the lower EVAP canister and bracket assembly bolts and the heat shield.
- To install, tighten to 18 Nm (13 lb-ft).

All vehicles

8. NOTE: Van/wagon vehicle lower EVAP canister and bracket assembly bolts will already be removed.

Remove the EVAP canister and bracket assembly bolts and remove the EVAP canister and bracket assembly from the vehicle.
- To install, tighten to 18 Nm (13 lb-ft).







9. NOTE:
- Midship fuel tank evaporative emission (EVAP) canister vent solenoid shown, aft of axle fuel tanks EVAP canister vent solenoid similar.
- Inspect and install new O-ring seals as necessary.

Disconnect the hose and remove the canister vent solenoid.

10. NOTE: Lubricate the O-ring seals with clean engine oil.

To install, reverse the removal procedure.
- Carry out the evaporative emission system leak test. Evaporative Emission System Leak Test
- Carry out the evaporative emission repair verification drive cycle. Evaporative Emission Repair Verification Drive Cycle