Operation CHARM: Car repair manuals for everyone.
Manuals through 2025 now available!

Our trusted friends have launched a new website named LEMON, which has newer manuals. It also contains all the CHARM manuals.

LEMON is the spiritual successor to CHARM, I recommend you try it!

Link: lemon-manuals.la or lemon-manuals.org.ua

(Some people have issue connecting. LEMON is investigating. For now, use Firefox or change your DNS server)

Or, hide this message: temporarily or permanently

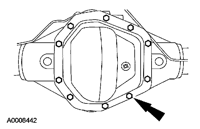
Differential Cover: Service and Repair

Differential Housing Cover

Material:





Removal
1. Raise the vehicle on a hoist or raise the rear end of the vehicle with a jack. Install safety stands under the frame rails and lower the jack or hoist enough to allow the rear axle to drop into the rebound position for working clearance. For additional information, refer to Maintenance/Service and Repair.
2. Remove the differential housing cover and drain the lubricant.
^ Clean the gasket material from the differential housing cover and the differential housing.





Installation

1. CAUTION: Clean the mounting surface on the differential housing cover and the differential housing with a suitable solvent to remove all traces of oil film.

CAUTION: The differential housing cover uses silicone rubber sealant material as a gasket. Install the differential housing cover within 15 minutes of applying the silicone or it will be necessary to apply new sealant.

Apply a continuous bead of silicone to the differential housing cover mounting surface.





2. Assemble 2 bolts into the differential housing cover at the 8 o'clock and 2 o'clock positions. Using these 2 bolts as a guide, position the differential housing cover on the differential housing.
3. Install the remaining bolts. Tighten the bolts alternately and evenly.
^ Tighten Grade 5 bolts to 47 Nm (35 ft. lbs.)
^ Tighten Grade 8 bolts to 61 Nm (45 ft. lbs.)





4. CAUTION: Allow one hour cure time before filling the axle with the correct amount of specified lubricant and operating the vehicle.

Fill the differential housing with the specified type and amount of lubricant.
5. Lower the vehicle.