Operation CHARM: Car repair manuals for everyone.
Manuals through 2025 now available!

Our trusted friends have launched a new website named LEMON, which has newer manuals. It also contains all the CHARM manuals.

LEMON is the spiritual successor to CHARM, I recommend you try it!

Link: lemon-manuals.la or lemon-manuals.org.ua

(Some people have issue connecting. LEMON is investigating. For now, use Firefox or change your DNS server)

Or, hide this message: temporarily or permanently

Windshield Washer Pump: Service and Repair

WASHER PUMP AND RESERVOIR

Removal and Installation

CAUTION: Do not make electrical connection prior to filling the windshield washer reservoir. Do not operate the windshield washer pump prior to filling the windshield washer reservoir.

1. Raise and support the hood.
2. Remove the battery.







3. Remove the battery tray.
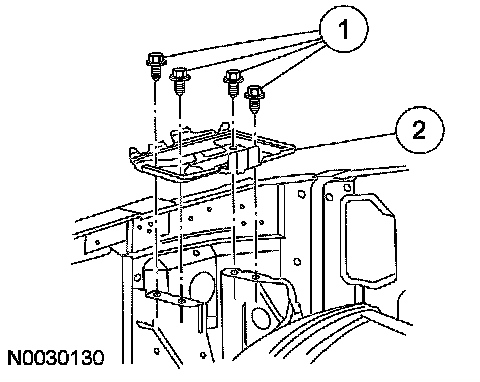
1 Remove the 4 bolts.
- To install, tighten to 28 Nm (21 lb-ft).

2 Remove the battery tray.







4. NOTE: Windshield washer fluid must be collected in a container after the windshield washer hose is disconnected.

Remove the washer pump and reservoir.
1 Remove the nut.
- To install, tighten to 4 Nm (35 lb-in).

2 Remove the bolt.
- To install, tighten to 4 Nm (35 lb-in).

3 Disconnect the filler hose.
4 Disconnect the electrical connector.
5 Detach the wiring harness locator from the washer pump and reservoir.
6 Disconnect the windshield washer hose.
7 Remove the washer pump and reservoir.







5. Remove the washer pump from the reservoir.
6. To install, reverse the removal procedure.