Operation CHARM: Car repair manuals for everyone.
Manuals through 2025 now available!

Our trusted friends have launched a new website named LEMON, which has newer manuals. It also contains all the CHARM manuals.

LEMON is the spiritual successor to CHARM, I recommend you try it!

Link: lemon-manuals.la or lemon-manuals.org.ua

(Some people have issue connecting. LEMON is investigating. For now, use Firefox or change your DNS server)

Or, hide this message: temporarily or permanently

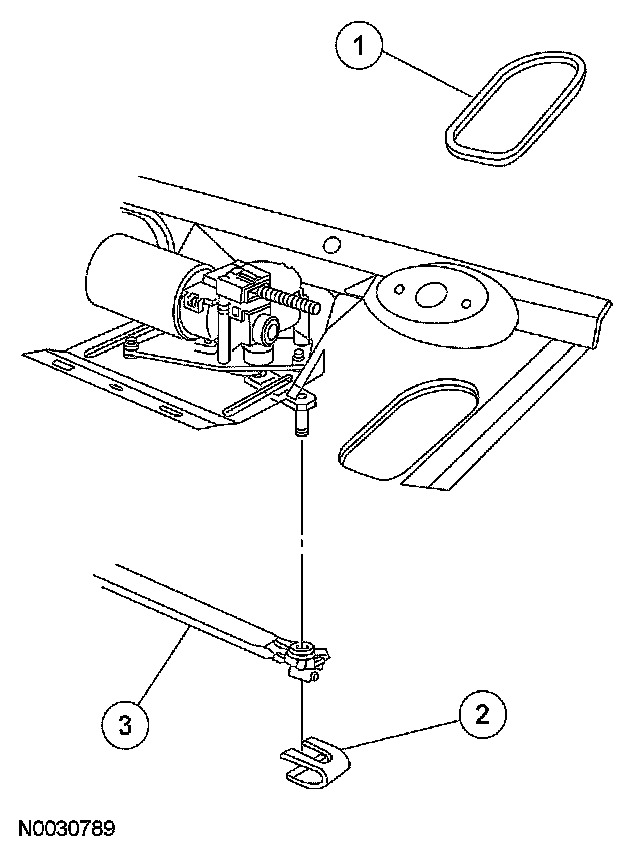
Wiper Motor: Service and Repair

WIPER MOTOR

Removal and Installation
1. Remove the windshield wiper pivot arms.
2. Remove the cowl top vent panels.







3. Disconnect the windshield wiper mounting arm and pivot shaft.
1 Remove the access cover from the dash panel.
2 Remove the retaining clip.
3 Disconnect the windshield wiper mounting arm and pivot shaft from the windshield wiper motor.







4. Remove the windshield wiper motor.
1 Disconnect the electrical connector.
2 Remove the 3 bolts.
- To install, tighten to 4 Nm (35 lb-in).

3 Remove the windshield wiper motor.

5. To install, reverse the removal procedure.