Operation CHARM: Car repair manuals for everyone.
Manuals through 2025 now available!

Our trusted friends have launched a new website named LEMON, which has newer manuals. It also contains all the CHARM manuals.

LEMON is the spiritual successor to CHARM, I recommend you try it!

Link: lemon-manuals.la or lemon-manuals.org.ua

(Some people have issue connecting. LEMON is investigating. For now, use Firefox or change your DNS server)

Or, hide this message: temporarily or permanently

Pump Assembly

Pump Assembly

Special Tool(s):




Material:








Disassembly
1. Remove and discard the 7 pump support seal rings from the pump support.





2. Remove the 6 pump support bolts.





3. Separate the pump support and body assembly.
1. Remove the pump support.
2. Remove the pump body separator plate gasket.
3. Remove the pump body separator plate.
4. Remove the pump body.





4. Remove and discard the pump seal.





5. Remove the pump drive gear assembly.
1. Remove the pump drive gear insert.
2. Remove the pump drive gear.
3. Remove the pump driven gear.





6. WARNING: Air pressure must not exceed 138 kPa (20 psi). Wear safety glasses when using compressed air. Failure to follow these instructions can result in personal injury.

Clean all parts thoroughly in clean solvent and blow dry with moisture-free regulated compressed air.
7. Inspect the pump body and gears for damage and wear.
^ Driven gear teeth
^ Drive gear teeth
^ Gear bore
^ Crescent
^ Lubrication passages and holes

8. Inspect the pump support apply circuit passages and lubrication passages.
1. Rear lube (from cooler TC circuit)
2. Reverse clutch (RC)
3. Direct clutch (DC)
4. Forward clutch (FC)
5. Coast clutch (CC)
6. Converter clutch bypass (CBY)





Assembly

1. NOTE: The identification dot on the pump driven gear must face downward.

Install the pump driven gear.





2. Install the pump drive gear assembly.
1. Install the pump drive gear.
2. Install the pump drive gear insert.





3. Using the special tool, measure the clearance between each gear and the pump body face.
^ If the clearance exceeds specification, install a new pump assembly.





4. Install the special tool.





5. Align the pump support assembly. Fill the pump gear cavity with clean automatic transmission fluid to the top of the gears. Align the pump guide screws.
1. Install the pump body.
2. Install the pump body separator plate.
3. Install the pump body separator plate gasket onto the pump body.
4. Install the pump support.





6. NOTE: Install the 4 pump support bolts in the pump support holes, and remove the special tool. Then install the last 2 bolts.

Install the 6 pump support bolts.
^ Tighten to 13 Nm (10 ft. lbs.).





7. NOTE: Make sure that the white stripe on the pump seal is visible around the pump body circumference.

Install the pump seal on the pump body.





8. NOTE: Make sure the pump support seal rings are overlapped correctly.

Install the 7 pump support seal rings.





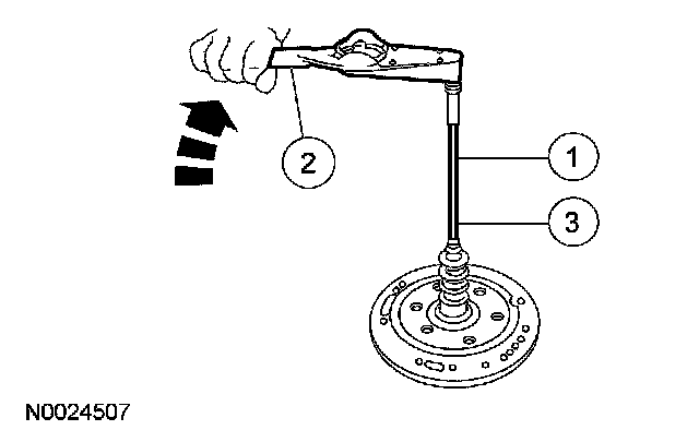
9. Measure the pump rotational torque.
1. Install the pump drive shaft.
2. Measure the pump rotational torque.
^ Tighten to 0.3 Nm (2.65 inch lbs.).
3. Remove the pump drive shaft.
^ If rotational torque exceeds the specification, disassemble and inspect the pump assembly for contamination or incorrect end clearance.





10. Install the No. 1 pump support thrust bearing.
^ Lubricate the seal rings with clean automatic transmission fluid.





11. Install the forward/coast/direct clutch cylinder and reverse clutch drum on the pump support.

12. WARNING: Air pressure must not exceed 138 kPa (20 psi). Wear safety glasses when using compressed air. Failure to follow these instructions can result in personal injury.

NOTE: With each application of air, you should hear the clutch pack apply. A hissing or high-pitched squeal indicates that a seal is damaged or torn. Inspect to find the source and repair as necessary.

Check the following passages of the forward/coast/direct clutch cylinder and reverse clutch drum with moisture-free compressed air, regulated to 276 kPa (40 psi).
1. Reverse clutch passage
2. Forward clutch passage
3. Direct clutch passage
4. Coast clutch passage
^ Converter bypass (located on the bottom)