Operation CHARM: Car repair manuals for everyone.
Manuals through 2025 now available!

Our trusted friends have launched a new website named LEMON, which has newer manuals. It also contains all the CHARM manuals.

LEMON is the spiritual successor to CHARM, I recommend you try it!

Link: lemon-manuals.la or lemon-manuals.org.ua

(Some people have issue connecting. LEMON is investigating. For now, use Firefox or change your DNS server)

Or, hide this message: temporarily or permanently

Disassembly

Transaxle

Special Tool(s):




Special Tool(s):





Disassembly

1. NOTE: Clean the transaxle assembly to prevent the entry of dirt when reassembling.

Inspect transaxle during disassembly.

2. Remove the special tool.





3. CAUTION: Do not tilt the torque converter when removing it. This can damage the torque converter hub.

NOTE: The torque converter is filled with fluid. Position it on a table so that fluid will drain out of the torque converter into a drain pan.

Using the special tool, remove the torque converter.





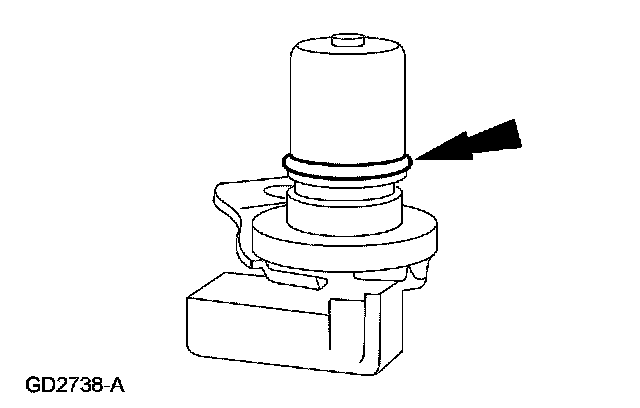
4. Remove the turbine shaft speed (TSS) sensor.
1. Remove the bolt.
2. Remove the TSS sensor.





5. Remove and discard the TSS and OSS sensor O-ring seals.





6. Remove the transmission range (TR) sensor.
1. Remove the bolts.
2. Remove the TR sensor from the manual valve detent lever shaft.





7. Using the special tool, secure the transaxle to the bench.





8. Position the drain pan under the transaxle, remove the drain plug, and drain the transmission fluid.





9. Remove the pump assembly driveshaft.





10. Using the special tools, remove and discard the torque converter impeller hub seal.





11. Using the special tools, remove the LH differential seal.





12. If the vehicle is equipped with a power transfer unit (PTU), use the special tools to remove the RH differential seal.





13. If the vehicle is not equipped with a PTU, use the special tools to remove the RH differential seal.





14. Remove the transaxle fluid filler tube bolt.





15. Remove the transaxle fluid filler tube.





16. Remove and discard the transaxle filler tube grommet.





17. Remove the main control cover bolts, studs and cover.





18. Remove the gasket.





19. Inspect the fitting of the main control cover vent tube for blockage.
20. Remove the main control valve body bolts.





21. Disconnect the manual valve link from the manual valve when lifting the main control valve body from the case.





22. CAUTION: Do not pull on solenoid body electrical connector wires, or use a hammer on the electrical connector.

Remove the solenoid body electrical connector.
^ Release the retaining tabs and push the connector through the transaxle case.





23. Support the manual valve and remove the main control.





24. Remove the thermostatic fluid level control valve bracket.
1. Remove the bolt.
2. Remove the bracket.





25. Remove the thermostatic fluid level control valve.





26. WARNING: The servo and servo cover are under high spring force. Use caution when removing servo cover. Failure to follow these instructions can result in personal injury.

CAUTION: Do not use a screwdriver to remove the retaining ring or damage to the case can occur. Use only snap ring pliers to remove the retaining ring.

Using the special tool, remove the servo assembly.
1. Install the special tool.
2. Compress the servo assembly by tightening the bolt.
3. Remove the retaining ring.





27. Remove the servo cover assembly.
28. Remove the intermediate and overdrive servo piston and return spring.

29. NOTE: If the bonded seal is damaged, install a new servo assembly.

Inspect the intermediate and overdrive servo assembly and bore for damage or wear.
1. Servo cover with bonded seal.
2. Cushion spring
3. Servo apply rod
4. Servo return spring
^ Case servo bore





30. NOTE: Position the transaxle with the torque converter housing facing upward.

Remove the 20 bolts.





31. NOTE: Place the torque converter housing on the engine flange side after removal to prevent damage to the lube tube.

Separate the torque converter housing from the transaxle case.
^ Remove and discard the transaxle split flange gasket.





32. Remove the differential bearing and shim.
1. Remove the No. 15 differential bearing.
2. Remove the No. 14 differential bearing shim.





33. NOTE: The all wheel drive differential is shown. The front wheel drive differential may or may not have splines.

Remove the final drive carrier and differential assembly.





34. Remove the No. 13 driven sprocket thrust bearing.





35. Unclip and remove the chain pan cover.





36. NOTE: The driven sprocket thrust washer may adhere to the converter housing.

Remove the No. 10 driven sprocket thrust washer from the reverse/overdrive ring gear assembly.





37. Remove the chain drive, reverse/overdrive ring gear and driven sprocket assembly.





38. Separate the drive chain assembly from the driven sprocket assembly and reverse/overdrive ring gear assembly.





39. NOTE: Inspect the magnet located on the chain pan for excessive metal particles.

Remove the chain pan (with the magnet retained) from the transaxle case.





40. Assemble the special tools.





41. Using the special tools, remove and discard fluid filter recirculating regulator exhaust seal.





42. Remove the fluid filter and seal assembly.
1. Discard the fluid filter.
2. Discard the fluid filter seal.





43. Remove the No. 12 driven sprocket bearing.





44. Remove the No. 11 driven sprocket shim (selective fit).





45. Disconnect the parking lever actuating rod from the parking cam actuator lever assembly.





46. Disconnect the parking lever actuation rod from the manual valve detent lever, and remove the parking lever actuation rod.





47. NOTE: The thrust bearing may adhere to the reverse/overdrive sprocket.

Remove the No. 9 reverse/overdrive ring gear thrust bearing.





48. NOTE: The thrust bearing is part of the reverse/overdrive carrier assembly.

Remove the reverse/overdrive carrier assembly with captured No. 8 thrust bearing.





49. Remove the reverse/overdrive sun gear and shell assembly.





50. NOTE: The thrust bearing may adhere to the reverse/overdrive sun gear and shell.

Remove the reverse/overdrive sun gear and No. 7 shell thrust bearing.





51. Remove the low/intermediate ring gear assembly.





52. NOTE: The low/intermediate carrier thrust bearing may adhere to the low/intermediate ring gear.

Remove the No. 6 low/intermediate carrier thrust bearing.





53. Remove the low/intermediate carrier assembly.





54. Remove the No. 5 low/intermediate sun gear thrust bearing and tag for installation.





55. Remove the forward one-way clutch and low/intermediate sun gear.





56. NOTE: The turbine shaft thrust bearing may adhere to the forward one-way clutch and low/intermediate sun gear.

Remove the No. 4 turbine shaft thrust bearing.





57. Remove the turbine shaft assembly.





58. Remove the forward/coast/direct cylinder assembly and reverse clutch drum assembly from the transaxle.





59. NOTE: The pump support thrust bearing assembly may adhere to the reverse clutch drum assembly.

Remove the No. 1 pump support thrust bearing and tag for installation.





60. Remove the low one-way clutch retaining ring.





61. Remove the mechanical diode assembly.





62. Remove the thin, 8-wave low/reverse clutch wave spring.





63. Remove the low/reverse clutch plates.
^ Inspect the friction plates for partially stripped, broken or bent spline teeth, burnt, worn or flaked-off friction material and warped or bent friction discs.
^ Inspect the steel plates for heat discoloration or warpage.





64. Remove the thick, 10-wave low/reverse clutch wave spring.





65. Remove and discard the low/reverse clutch return spring retaining ring.





66. Remove the low/reverse clutch return spring assembly.





67. NOTE: Rotate the low/reverse clutch piston while pulling upward.

Remove the low/reverse clutch piston.





68. NOTE: Position the transaxle so the pump assembly is facing upward.

Remove the pump assembly bolts.





69. Using the special tools, remove the pump assembly.
1. Install the special tool.
2. Assemble the special tools.
3. Using the special tools, remove the pump assembly.





70. Remove the intermediate and overdrive band assembly from the case.
^ Inspect the intermediate and overdrive band assembly for damage and wear.