Operation CHARM: Car repair manuals for everyone.
Manuals through 2025 now available!

Our trusted friends have launched a new website named LEMON, which has newer manuals. It also contains all the CHARM manuals.

LEMON is the spiritual successor to CHARM, I recommend you try it!

Link: lemon-manuals.la or lemon-manuals.org.ua

(Some people have issue connecting. LEMON is investigating. For now, use Firefox or change your DNS server)

Or, hide this message: temporarily or permanently

Procedures

HEATER HOSE COUPLING


Special Tool(s):






Special Tool(s)

Disconnect

1. WARNING: The engine must be off, fully cool and the cooling system fully depressurized before attempting to disconnect any heater water hoses. Failure to comply with this warning can result in serious injury or burns from hot liquid escaping out of the engine cooling system.

Depressurize the engine cooling system.

2. Push the heater water hose toward the tube to fully expose the locking tabs.







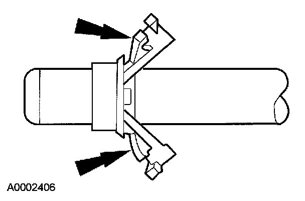
3. NOTE: When compressing the white coupling retainer, the Heater Hose Disconnect Tool must be perpendicular to and on the highest point of the coupling.

Push the special tool over the coupling retainer windows to compress the retainer locking tabs.







4. NOTE: A slight twisting motion while pulling on the heater water hose may be necessary to assist in the removal.

Pull the heater water hose away from the heater core tube.

5. Plug the heater water hose.
6. Remove the white coupling retainer from the tube.







7. Spread the retainer tabs apart and slide the retainer off the tube.
8. Discard the retainer.

Connect
1. Clean the tubes and lubricate with MERPOL meeting Ford specification ESE-M99B144-B or plain water.







2. Install a new coupling retainer, spacer, and lubricated O-ring seals into the quick disconnect coupling housing.







3. Push the heater water hose with a quick disconnect coupling onto the tube.
4. Make sure the coupling is fully engaged by lightly pulling on the heater water hose.