Operation CHARM: Car repair manuals for everyone.
Manuals through 2025 now available!

Our trusted friends have launched a new website named LEMON, which has newer manuals. It also contains all the CHARM manuals.

LEMON is the spiritual successor to CHARM, I recommend you try it!

Link: lemon-manuals.la or lemon-manuals.org.ua

(Some people have issue connecting. LEMON is investigating. For now, use Firefox or change your DNS server)

Or, hide this message: temporarily or permanently

Part 1

Axle

Special Tool(s):




Special Tool(s):




Special Tool(s):




Special Tool(s):




Material:





Disassembly

All Axles
1. Remove the axle assembly from the vehicle.
2. Remove the 4 bolts retaining the torque arm to the rear axle housing.





3. Drain the rear axle lubricant and remove the rear axle cover.





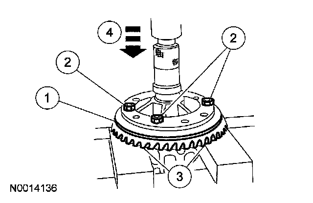
4. Using the special tools, mount the differential housing to a work bench.





5. Using the special tool, measure and record the differential ring gear backlash between teeth in 4 equally spaced places around the ring gear.
^ Remove the dial indicator.





6. CAUTION: Mark the position and location of the differential bearing caps as the arrows may not be visible. Always install the differential bearing caps in their identical location and position.

Remove the differential bearing caps.





7. CAUTION: Use wood blocks to avoid damaging the differential housing.

NOTE: Tag the bearing caps and shims for location as removed.

Remove the differential assembly.
1 Position wood blocks at the top and bottom of the differential case.
2 Pry the differential assembly and the differential bearing shims out of the differential housing.





Excessive differential ring gear backlash between teeth

NOTE: If the differential ring gear backlash between teeth measurement, taken at the beginning of this procedure, did not exceed the specification, proceed to Final disassembly in this procedure. If the differential ring gear backlash between teeth measurement exceeds the specification, the cause may be a warped differential ring gear, a damaged differential case or loss of differential bearing preload. Verify the cause of the excessive runout.

8. Remove the ring gear bolts.





9. CAUTION: Do not damage the bolt hole threads.

Insert a punch in the bolt holes and drive off the differential ring gear.





10. NOTE: Visually inspect the differential carrier bearings and cups for discoloration or other signs of bearing failure.

NOTE: Install the differential bearing cups and shims in the same locations they were in before disassembly.

Install the differential case. Rotate the differential case to seat the differential bearings.





11. Using the special tool, measure the differential case flange runout.
1 Rotate the differential case to make sure the differential bearings are seated.
2 Position the special tool.
^ If the runout does not exceed the specification, the cause of the original excessive runout is the differential ring gear. Remove the differential case. Discard the differential ring gear and the drive pinion gear. Proceed to Final disassembly in this procedure.
^ If the runout exceeds the specification, the differential ring gear is true and the concern is due to either differential case/differential bearing damage.
Remove the special tool.





12. Remove the differential case from the rear axle housing, and remove the differential bearings using the special tools.





13. Using the special tool, install the new differential bearings on the differential case.





14. Measure the differential case runout without the differential ring gear.
^ Check the differential case flange runout again with the new differential bearings. If the runout is now within the specification shown, use the new differential bearings for assembly. If the runout is still excessive, the differential case is damaged and must be installed new.





Final Disassembly, Differential Case and Ring Gear - Traction-Lok
15. Remove the differential ring gear bolts





16. CAUTION: Do not damage the ring gear bolt hole threads.

Insert a punch in the bolt holes and drive the differential ring gear off the differential case.





17. NOTE: The differential bearings do not need to be removed to overhaul the Traction-Lok differential. If bearing removal is required, use special tool 205-D072 and special tool 205-D019 for the differential case bearings.

Remove the differential pinion shaft lock bolt and remove the differential pinion shaft.





18. Install the special tool in a suitable vise.





19. Install the differential case on the tool.





20. NOTE: Apply a small amount of grease to the centering hole of the special tool.

Install the special tool in the bottom side gear bore.





21. Install the nut in the upper differential side gear. Hold the nut in position while installing the hex screw. Tighten the hex nut until contact is made with the step plate.





22. NOTE: The dowel bar is used to keep the nut from turning when the forcing screw is tightened.

Insert a suitable dowel bar in the hole of the nut. Tighten the forcing screw to force the differential side gear away from the differential pinion gears.





23. Insert the special tool in the pinion shaft bore and turn the differential case to move the differential pin gears and thrust washers to the differential case opening.





24. Remove the differential pinion gears and differential pinion gear thrust washers.





25. Remove the differential side gears and differential clutch packs. Tag the gears, clutch packs and shims for location.





26. CAUTION: When separating the clutch plates and clutch discs, note the sequence in which they are disassembled. They must be reassembled in the same sequence.

CAUTION: Do not use acids or solvents to clean the differential clutch components. Use a clean, lint-free cloth only.

Separate the differential clutch packs for cleaning and inspection.





Final Disassembly, Differential Case and Ring Gear - Conventional
27. Remove the differential ring gear bolts.





28. CAUTION: Do not damage the ring gear bolt hole threads.

Insert a punch in the bolt holes and drive off the differential ring gear.





29. Using the special tools, remove the differential bearing.
^ Repeat for the other side.





30. Record the torque necessary to maintain rotation of the drive pinion gear through several revolutions prior to removing the drive pinion flange.





31. CAUTION: After removing the drive pinion nut, discard it. Use a new nut for installation.

Using the special tool, remove the drive pinion nut.





32. Index-mark the drive pinion flange and drive pinion gear stem to maintain initial balance during installation.
33. Using the special tool, remove the drive pinion flange.





34. Force up on the metal flange of the drive pinion seal. Install gripping pliers and strike with a hammer until the pinion seal is removed.





35. Remove the drive pinion shaft oil slinger.





36. Using the special tool and a soft-faced hammer, drive the drive pinion gear out of the front pinion bearing and remove it through the rear of the differential housing.





37. Remove and discard the drive pinion collapsible spacer.





38. Using the special tool and a suitable press, remove the drive pinion bearing.





39. NOTE: Using a micrometer, measure the drive pinion bearing adjustment shim thickness. Use this measurement as a reference to compare to the shim gauge reading taken prior to installing the pinion bearing.

Remove the drive pinion bearing adjustment shim.





40. NOTE: Tap alternately on opposite sides of the cups to prevent them from cocking in the bore.

Use a suitable brass drift to remove the differential bearing cups.





Assembly

Assembly, Differential Case and Ring Gear - Traction-Lok
1. Prelubricate each steel clutch plate and soak all friction plates with 118 ml (4 ounces) of friction modifier for at least 15 minutes.





2. NOTE: The concave side of the Belleville spring must face up and against the thrust face of the differential case.

Place the shim and the Belleville spring on the differential clutch pack.





3. Insert the differential clutch packs with the shims and Belleville springs and differential side gears into the differential case.





4. NOTE: If necessary, insert the dowel bar in the nut bore to keep the nut from turning as the hex screw is tightened.

Assemble the special tool in the differential case.
1 Position the special tool in the bottom side gear bore.
2 Position the special tool in the top side gear bore and hold it in place.
3 Install the special tool and tighten it 2 turns after it contacts the bottom step plate.





5. NOTE: Coat both sides of the differential pinion thrust washers with rear axle lubricant.

Position the differential pinion gears and thrust washers in the differential case window so they mesh with the differential side gear teeth.





6. NOTE: It may be necessary to loosen or tighten the special tool forcing screw to allow the differential side gears to rotate.

Insert the special tool into the pinion shaft bore and turn the differential case. This will move the differential side gears and position them in the differential case. Rotate the differential case until the pinion mating shaft holes are aligned with the differential pinion gears.





7. Loosen the special tool forcing screw and remove the special tool from the differential case. Install a new differential pinion shaft and bolt in the differential case.





8. If removed, install new differential carrier bearings.





9. Using the special tools, check the torque required to rotate on differential side gear.
^ Install the special tools as shown.
^ If the original clutch plates are used, the initial breakaway torque must be within specification. The rotating torque required to turn the differential side gear with new clutch plates, may vary.





10. Install the differential ring gear.
1 Place the differential ring gear on the differential case.
2 Hand start 3 bolts to align the ring gear to the differential case.
3 Place the differential case and ring gear on the press bed with the ring gear teeth facing down.
4 Press the ring gear into place on the differential case.





11. Install the ring gear bolts and tighten.
^ Tighten to 150 Nm (111 lb-ft).





Assembly, Differential Case and Ring Gear - Conventional

12. NOTE: Coat the differential side gears and differential side gear thrust washers with rear axle lubricant.

Position the differential thrust washers on the differential side gears.





13. Position the differential side gears and thrust washers in the differential case.





14. NOTE: Coat the differential pinion thrust washers and differential pinion gears with rear axle lubricant.

Assemble the differential pinion thrust washers and the differential pinion gears.





15. Engage the differential pinion gears opposite the differential side gears.





16. Rotate the differential pinion gears to align with the differential pinion shaft bore.





17. Insert the differential pinion shaft.





18. NOTE: If a new pinion shaft lock bolt is unavailable, coat the threads with sealer prior to installation.

Install a new differential shaft lock bolt.
^ Tighten to 30 Nm (22 lb-ft).





19. Using the special tool, install the differential bearings.





20. Install the differential ring gear.
1 Place the differential ring gear on the differential case.
2 Hand start 3 bolts to align the holes in the differential ring gear and the differential case.
3 Place the differential case and the differential ring gear on the press bed with the ring gear facing down.
4 Press the ring gear into place.





21. NOTE: Apply sealer to the threads of the ring gear bolts.

Install the differential ring gear bolts and tighten.
^ Tighten to 150 Nm (111 lb-ft).





Final Assembly - All Differentials
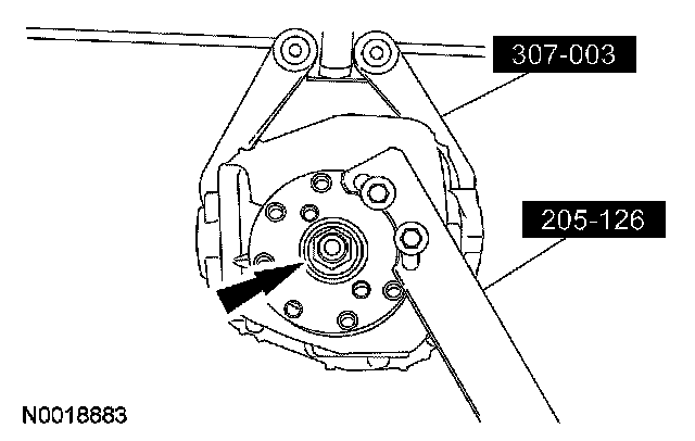
22. Position the inner and outer bearing cups in their respective bores.
1 After positioning the bearing cups in the bores, place the special tool on the inner bearing cup.
2 Place the special tool on the outer bearing cup.
3 Install the special tools.





23. Tighten the special tool to seat the bearing cups in the bores.





24. NOTE: If a feeler gauge of the specification shown can be inserted between a cup and the bottom of its bore at any point around the cup, the cup is not correctly seated.

Make sure the differential pinion bearing cups are correctly seated.