Operation CHARM: Car repair manuals for everyone.
Manuals through 2025 now available!

Our trusted friends have launched a new website named LEMON, which has newer manuals. It also contains all the CHARM manuals.

LEMON is the spiritual successor to CHARM, I recommend you try it!

Link: lemon-manuals.la or lemon-manuals.org.ua

(Some people have issue connecting. LEMON is investigating. For now, use Firefox or change your DNS server)

Or, hide this message: temporarily or permanently

Camshaft Synchronizer

CAMSHAFT SYNCHRONIZER


Special Tool(s):






Special Tool(s)







Removal
1. Drain the engine cooling system.

2. CAUTION:
- The No. 1 cylinder must be set on top dead center (TDC) of the compression stroke or the synchronizer assembly will not be installed correctly.
- Do not turn the crankshaft or camshaft during the removal and installation procedure or the fuel system timing will be out of time with the engine and possibly cause engine damage.


Rotate the crankshaft until the No. 1 cylinder is at TDC of the compression stroke.

3. Remove the bolt and position the heater outlet tube aside.
4. Disconnect the camshaft position (CMP) sensor electrical connector.
5. Remove the bolts and the CMP sensor.
6. Remove the bolt and washer assembly and remove the camshaft synchronizer.

Installation

CAUTION: After installation, do not loosen the synchronizer bolt and rotate the synchronizer assembly. The synchronizer assembly is not adjustable. Do not loosen the synchronizer bolt after the alignment tool has been removed in order to align the CMP sensor electrical connector for any reason. If the electrical connector is not in the correct position, the synchronizer assembly must be removed, the alignment tool and the assembly reinstalled if the engine has not been rotated from TDC of the compression stroke on the No. 1 cylinder.







1. CAUTION:
- Do not turn the crankshaft or camshaft during the removal and installation procedure or the fuel system timing will be out of time with the engine and possibly cause engine damage.
- A synchronizer alignment gauge must be used during the installation of the synchronizer assembly. Failure to follow these procedures will result in the fuel system being out of time with the engine and possibly cause engine damage.


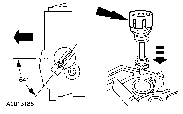
Install the special tool on the camshaft synchronizer by rotating the tool until it engages the notch on the camshaft synchronizer housing.







2. NOTE:
- Clean and inspect the synchronizer O-ring seal. Install a new O-ring seal if necessary. Lubricate the O-ring seal with clean engine oil.
- Coat the synchronizer drive gear with clean engine oil prior to installation.
- During installation, the arrow in the synchronizer alignment tool will rotate clockwise as the gears engage.

Install the camshaft synchronizer so the arrow on the synchronizer alignment gauge is 54 degrees from the centerline of the engine.

3. Install the camshaft synchronizer bolt and washer assembly.
- Tighten to 25 Nm (18 lb-ft).

4. Install the CMP sensor and the bolts.
- Tighten to 3 Nm (27 lb-in).

5. Connect the CMP sensor electrical connector.

6. NOTE: Clean and inspect the heater tube O-ring seal. Install a new O-ring seal if necessary. Lubricate the O-ring seal with clean engine coolant.

Position the heater outlet tube and install the bolt.
- Tighten to 10 Nm (89 lb-in).

7. Fill and bleed the cooling system.