Operation CHARM: Car repair manuals for everyone.
Manuals through 2025 now available!

Our trusted friends have launched a new website named LEMON, which has newer manuals. It also contains all the CHARM manuals.

LEMON is the spiritual successor to CHARM, I recommend you try it!

Link: lemon-manuals.la or lemon-manuals.org.ua

(Some people have issue connecting. LEMON is investigating. For now, use Firefox or change your DNS server)

Or, hide this message: temporarily or permanently

Main Control Valve Body

Main Control Valve Body

Material:





Disassembly

Main Control Valve Body Disassembled View:








1. Remove the torque converter clutch (TCC) solenoid and the shift solenoid.
1 Remove the retaining bolt.
2 Remove the shift solenoid.
3 Remove the TCC solenoid.





2. Remove the 2 reinforcement plate and bolts.





3. Remove the separator plate and discard the gaskets.





4. NOTE: Note the location of the eight coasting booster valve shuttle balls for assembly.

Remove the 8 coasting booster valve shuttle balls.








5. Remove the converter drain back valve and solenoid pressure supply screen.





6. Remove the main control valve body cover plate.
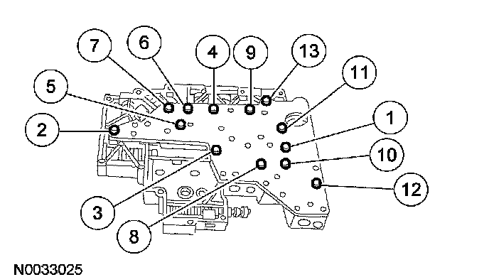
1 Remove the 13 main control valve body cover plate bolts.
2 Remove the main control valve body cover plate.





Assembly

CAUTION: Before beginning assembly, carry out and inspect the following:

When building up subassemblies and assembling the transmission, ALWAYS use new gaskets and seals.

All fasteners must be tightened to the torque specification indicated. In addition to appearing in the procedure, the necessary torque measurements can be found in the General Specifications Chart.

When building up subassemblies, each component part should be lubricated with clean transmission fluid. It is also good practice to lubricate the subassemblies as they are installed in the case.

Needle bearings, thrust washers and seals should be lightly coated with clean automatic transmission fluid during subassembly buildup or transmission assembly.

Many components and surfaces in the transmission are precision machined. Careful handling during disassembly, cleaning, inspection and assembly can prevent unnecessary damage to machined surfaces.

NOTE: Inspect the shift solenoid O-rings and TCC solenoid O-rings for damage.

1. Install the valve body cover plate.
1 Position the valve body cover plate gasket and cover plate.
2 Loosely install the 2 guide pin bolts.
3 Loosely install the remaining bolts.





2. Tighten all the bolts in the sequence shown.
^ Tighten to 10 Nm (89 inch lbs.).





3. Install the 8 coasting booster valve shuttle balls.





4. Install the converter drain back valve and solenoid pressure supply screen.





5. Install the separator plate and gaskets.





6. Install the 2 reinforcement plate and bolts.
^ Tighten to 10 Nm (89 inch lbs.).





7. Install the shift solenoid.
1 Position the TCC solenoid.
2 Position the shift solenoid.
3 Install the bolt.
^ Tighten to 10 Nm (89 inch lbs.).