Operation CHARM: Car repair manuals for everyone.
Manuals through 2025 now available!

Our trusted friends have launched a new website named LEMON, which has newer manuals. It also contains all the CHARM manuals.

LEMON is the spiritual successor to CHARM, I recommend you try it!

Link: lemon-manuals.la or lemon-manuals.org.ua

(Some people have issue connecting. LEMON is investigating. For now, use Firefox or change your DNS server)

Or, hide this message: temporarily or permanently

Fuel Level Sensor

FUEL LEVEL SENSOR

Removal

WARNING: Do not smoke or carry lighted tobacco or open flame of any type when working on or near any fuel-related component. Highly flammable mixtures are always present and may be ignited. Failure to follow these instructions may result in personal injury.

1. Remove the fuel pump module.







2. NOTE: Note the routing of the fuel level sensor wire for installation.

Unwrap the fuel level sensor wire from the rest of the fuel pump module wire harness.







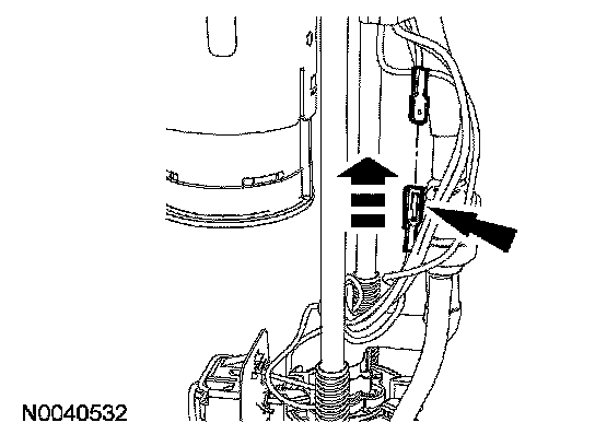
3. Remove the heat shrink tube covering the electrical connector.







4. Disconnect the electrical connector.







5. NOTE: Gasoline shown, flexible fuel similar.

Remove the screw and lift up to remove the fuel level sensor.

Installation

All vehicles







1. Route the fuel level sensor wire through the center of the fuel pump module.

Gasoline vehicles







2. NOTE:
- Both fuel level sensor wires must be routed behind the metal fuel level sensor plate.
- The grounding eyelet must be on the front side of the fuel level sensor.

Hook the fuel level sensor on the fuel pump module and install the screw through the grounding eyelet and tighten the screw.

Flexible fuel vehicles







3. NOTE:
- One fuel level sensor wire routes behind the fuel level sensor and one routes along the left side of the fuel level sensor.
- The grounding eyelet must be on the front side of the fuel level sensor.

Hook the fuel level sensor on the fuel pump module and install the screw through the grounding eyelet and tighten the screw. Clip the wire into the clip on the fuel pump module.

All vehicles







4. Slide the heat shrink tube onto the wire harness and connect the electrical connector.







5. WARNING: Do not use an open flame to heat the heat shrink tube, use a heat gun only. Failure to follow these instructions may result in personal injury.

Using a heat gun, heat the heat shrink tube.







6. Wrap the fuel level sensor wire around the fuel pump module wire harness to make sure the wire will not interfere with the movement of the fuel gauge sending unit float arm.
7. Install the fuel pump module.
8. Install the fuel tank.