Operation CHARM: Car repair manuals for everyone.
Manuals through 2025 now available!

Our trusted friends have launched a new website named LEMON, which has newer manuals. It also contains all the CHARM manuals.

LEMON is the spiritual successor to CHARM, I recommend you try it!

Link: lemon-manuals.la or lemon-manuals.org.ua

(Some people have issue connecting. LEMON is investigating. For now, use Firefox or change your DNS server)

Or, hide this message: temporarily or permanently

Alignment: Description and Operation

Suspension System

WARNING: All vehicles are equipped with gas-pressurized shock absorbers which will extend unassisted. Do not apply heat or flame to the shock absorbers during removal or component servicing. Failure to follow these instructions may result in personal injury.

CAUTION: Suspension fasteners are critical parts because they affect performance of vital components and systems and their failure can result in major service expense. A new part with the same part number or an equivalent part must be installed, if installation is necessary. Do not use a part of lesser quality or substitute design. Torque values must be used as specified during reassembly to make sure of correct retention of these parts.

CAUTION: Do not lubricate the stabilizer bar bushings for any reason.

The suspension system consists of the following components:
^ Front suspension
- upper control arms
- lower control arms
- shock absorber and spring assemblies
- stabilizer bar, links, and bushings
- wheel bearings and wheel hubs
- wheel knuckles
^ Rear suspension
- shock absorber
- leaf spring

The front caster, camber and splits are adjusted by loosening the lower control arm-to-frame mounting bolts and installing the alignment kit to allow the arm to be adjusted in the frame slots. Front toe is adjusted by adjusting the front wheel knuckle tie rod.

Camber

Negative and Positive Camber:





Camber is the wheel tilt toward or away from the vertical (in degrees) when viewing the vehicle from the front. Camber can be negative (inward) or positive (outward) and has a direct effect on tire wear.

Caster:





Caster is deviation from vertical of an imaginary line drawn through the ball joints when viewed from the side. The caster specifications will give the vehicle the best directional stability characteristics when loaded and driven. The caster setting is not related to tire wear.

Toe

Positive Toe (Toe In):




Negative Toe (Toe Out):





The vehicle toe setting:
^ affects tire wear and directional stability.
^ must be checked after adding aftermarket equipment, such as a snowplow or body.

Ride Height

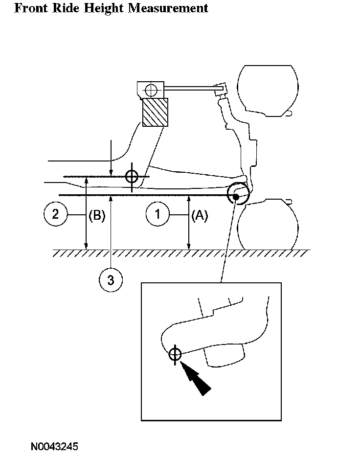
NOTE: Measure the LH and RH front ride height by taking the difference between the lowest point on the wheel knuckle (A) and bolt center of the rearward lower control arm bushing (B).

If there is a ride height concern, such as the front or rear of the vehicle being higher or lower than normal or an apparent lean, it should be corrected before aligning the vehicle. Any heavy items such as tool boxes, sample cases or any other items should be removed.

If no unusual load is present, check for damaged components or nonstandard replacement suspension components.

To measure ride height, the vehicle must be in a level, static ground position with full fluids and the fuel tank at least 1/2 full.

Front Ride Height Measurement:




Rear Ride Height Measurement - Rear Wheel Drive (RWD):




Rear Ride Height Measurement - Four Wheel Drive (4WD):




Incorrect Thrust Angle (Dogtracking):





Dogtracking is the condition in which the rear axle is not square to the chassis. Heavily crowned roads can give a sense of dogtracking.

Wander
Wander is the tendency of the vehicle to require frequent, left and right steering wheel corrections to maintain a straight path while driving on a level road.

Shimmy
Shimmy, as observed by the driver, is large, consistent, rotational oscillations of the steering wheel resulting from large, side-to-side (lateral) tire/wheel movements.

Shimmy is usually experienced near 64 km/h (40 mph), and can begin or be amplified when the tire contacts pot holes or irregularities in the road surface.

Nibble
Sometimes confused with shimmy, nibble is a condition resulting from tire interaction with various road surfaces and observed by the driver as small rotational oscillations of the steering wheel.

Poor Returnability/Sticky Steering
Poor returnability and sticky steering is used to describe the poor return of the steering wheel to center after a turn or the steering correction is completed.

Drift/Pull
Pull is a tugging sensation, felt by the hands on the steering wheel, that must be overcome to keep the vehicle going straight.

Drift describes what a vehicle with this condition does with hands off the steering wheel.
^ A vehicle-related drift/pull, on a flat road, will cause a consistent deviation from the straight-ahead path and require constant steering input in the opposite direction to counteract the effect.
^ Drift/pull may be induced by conditions external to the vehicle (i.e., wind, road camber).

Poor Groove Feel
Poor groove feel is characterized by little or no buildup of turning effort felt in the steering gear as the steering wheel is rocked slowly left and right within very small turns around center or straight-ahead (under 20 degrees of steering wheel turn). Efforts may be said to be "flat on center".
^ Under 20 degrees of turn, most of the turning effort that builds up originates from gear teeth meshing in the steering gear. In this range, the steering wheel is not yet turned enough to feel the effort from the self-aligning forces at the road wheel or tire patch.
^ In the diagnosis of a driveability problem, it is critical to understand the difference between wander and poor groove feel.