Operation CHARM: Car repair manuals for everyone.
Manuals through 2025 now available!

Our trusted friends have launched a new website named LEMON, which has newer manuals. It also contains all the CHARM manuals.

LEMON is the spiritual successor to CHARM, I recommend you try it!

Link: lemon-manuals.la or lemon-manuals.org.ua

(Some people have issue connecting. LEMON is investigating. For now, use Firefox or change your DNS server)

Or, hide this message: temporarily or permanently

System Specifications

Cylinder Block
Cylinder bore diameter - Grade 1 90.200-90.210 mm (3.5512-3.5516 inch)
Cylinder bore diameter - Grade 2 90.210-90.220 mm (3.5516-3.5520 inch)
Cylinder bore diameter - Grade 3 90.220-90.230 mm (3.5520-3.5524 inch)
Cylinder bore maximum taper 0.006 mm (0.0002 inch)
Cylinder bore maximum out-of-round 0.020 mm (0.0008 inch)
Main bearing bore inside diameter 72.400-72.424 mm (2.850-2.851 inch)

Crankshaft
Main bearing journal diameter 67.481-67.505 mm (2.6568-2.6576 inch)
Main bearing journal maximum taper 0.004 mm (0.0002 inch)
Main bearing journal maximum out-of-round between cross sections 0.0075 mm (0.0003 inch)
Main bearing journal-to-cylinder block clearance 0.048-0.024 mm (0.0019-0.0009 inch)
Connecting rod journal diameter 53.003-52.983 mm (2.0867-2.0859 inch)
Connecting rod journal maximum taper 0.004 mm (0.0002 inch)
Connecting rod journal maximum out-of-round between cross sections 0.0075 mm (0.0003 inch)
Crankshaft maximum end play 0.075-0.377 mm (0.0030-0.0148 inch)

Bearing Select Fit Chart








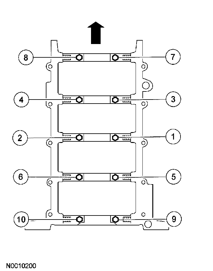
Main Bearing Cap Torque & Sequence

Vertical main bearing cap fasteners
Step 1 40 Nm (30 ft. lbs.)
Step 2 additional 90 degrees





Side bolts
Step 1 30 Nm (22 ft. lbs.)
Step 2 additional 90 degrees





Piston and Connecting Rod
Piston diameter - Grade 1 (at right angle to pin bore) 90.175-90.165 mm (3.5502-3.5498 inch)
Piston diameter - Grade 2 (at right angle to pin bore) 90.185-90.175 mm (3.5506-3.5502 inch)
Piston diameter - Grade 3 (at right angle to pin bore) 90.195-90.185 mm (3.5510-3.5506 inch)
Piston-to-cylinder bore clearance (at grade size) 0.025-0.045 mm (0.0010-0.0018 inch)
Piston ring end gap - top 0.15-0.30 mm(0.006-0.012 inch)
Piston ring end gap - intermediate 0.25-0.50 mm (0.0098-0.0197 inch)
Piston ring end gap - oil control 0.15-0.65 mm (0.0059-0.0256 inch)
Piston ring groove width - top 1.52-1.55 mm (0.0598-0.0610 inch)
Piston ring groove width - intermediate 1.52-1.54 mm (0.0598-0.0606 inch)
Piston ring groove width - oil control 3.030-3.050 mm (0.1193-0.1201 inch)
Piston ring width - top and intermediate 1.50-1.47 mm (0.0590-0.0578 inch)
Piston ring-to-groove clearance - top 0.020-0.080 mm (0.0008-0.0031 inch)
Piston ring-to-groove clearance - intermediate 0.030-0.070 mm (0.0012-0.0028 inch)
Piston pin bore diameter 22.008-22.014 mm(0.8665-0.8667 inch)
Piston pin diameter 22.0010-22.0030 mm (0.8662-0.8663 inch)
Piston pin length 61.8 mm (2.433 inch)
Piston pin-to-piston fit 0.005-0.0130 mm (0.0002-0.0005 inch)
Connecting rod-to-pin clearance 0.009-0.0235 mm (0.0004-0.0093 inch)
Connecting rod pin bore diameter 22.012-22.024 mm (0.8666-0.8671 inch)
Connecting rod length (center-to-center) 169.1 mm (6.6575 inch)
Connecting rod maximum allowed bend ± 0.038 mm (0.0015 inch)
Connecting rod maximum allowed twist ± 0.05 mm (0.0020 inch)
Connecting rod bearing bore diameter (with assembled liners) 53.049-53.027 mm (2.0885-2.0877 inch)
Connecting rod bearing-to-crankshaft clearance 0.064-0.026 mm (0.0025-0.0010 inch)
Connecting rod side clearance 0.475-0.125 mm (0.0187-0.0049 inch)

Crankshaft damper pulley bolt
Stage 1 90 Nm (66 ft. lbs.)
Stage 2 360 degrees
Stage 3 50 Nm (37 ft. lbs.)
Stage 4 additional 90 degrees