Operation CHARM: Car repair manuals for everyone.
Manuals through 2025 now available!

Our trusted friends have launched a new website named LEMON, which has newer manuals. It also contains all the CHARM manuals.

LEMON is the spiritual successor to CHARM, I recommend you try it!

Link: lemon-manuals.la or lemon-manuals.org.ua

(Some people have issue connecting. LEMON is investigating. For now, use Firefox or change your DNS server)

Or, hide this message: temporarily or permanently

Procedures

Differential Case Runout Check

Special Tool(s):




Special Tool(s):





1. Position the special tool on the spreader adapters.





2. Install the special tools.
^ Position the adapter tip in the spreader adapter hole.





3. CAUTION: Overspreading can damage the axle housing.

Spread the axle housing to the specification.
1 Adjust the special tool to zero.
2 Tighten the housing spreader screw to spread the axle housing to the specification.
3 Remove the special tool.





4. CAUTION: Mark the differential bearing caps Top or Bottom and LH or RH appropriately before removing them. Always install the differential bearing caps in their original positions.

Mark and remove the differential bearing caps.
1 Remove the 4 differential bearing cap bolts.
2 Remove the differential bearing caps.





5. CAUTION: Use wood blocks to avoid axle housing damage.

Remove the differential assembly from the axle housing.
1 Position the wood blocks.
2 Position and push down on the two pry bars.
3 Remove the differential assembly.
4 Remove the special tool.





6. Remove the 10 differential ring gear bolts and the differential ring gear.
^ Use a drift punch to separate the differential ring gear from the differential case.





7. NOTE: Visually inspect the differential bearing cups and cones for discoloration indicating differential bearing overheating or failure.

NOTE: It may be necessary to use the differential carrier spreader to carry out this step.

Install the differential case with the differential bearing cups and all the shims in the housing.
1 Position the differential case with the differential bearing cups and shims in their original locations.
2 Install the differential bearing caps.
3 Install the 4 differential bearing cap bolts.
^ Tighten to 105 Nm (77 ft. lbs.).

4 Rotate the differential assembly to make sure the differential bearings have seated correctly.





8. Install the special tool.





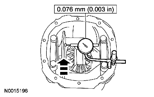
9. Rotate the differential assembly and check the differential case runout.
^ If the runout does not exceed the specification, install a new differential ring gear and pinion.
^ If runout exceeds the specification, install a new differential case.
- Always install new differential bearings when installing a new differential case, or if a bearing condition is questionable.