Operation CHARM: Car repair manuals for everyone.
Manuals through 2025 now available!

Our trusted friends have launched a new website named LEMON, which has newer manuals. It also contains all the CHARM manuals.

LEMON is the spiritual successor to CHARM, I recommend you try it!

Link: lemon-manuals.la or lemon-manuals.org.ua

(Some people have issue connecting. LEMON is investigating. For now, use Firefox or change your DNS server)

Or, hide this message: temporarily or permanently

Fluid Line/Hose: Service and Repair

Transmission Fluid Cooler Tubes - 2.0L

Material:








Removal
1. With the vehicle in NEUTRAL, position it on a hoist. For additional information, refer to Maintenance/Service and Repair.

2. NOTE: Take notice of retaining ring color for correct orientation at installation.

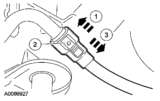
Disconnect the fluid cooler tubes from the transmission fluid cooler.
1. Push the connector fitting into the cooler line.
2. Press the tab release button.
3. Pull the connector fitting off the cooler line.





3. NOTE: Do not remove the fluid tube adapter from the transaxle housing.

Disconnect the transaxle fluid cooler tubes from the transaxle.





4. Remove the transaxle fluid cooler tubes from the vehicle.








Installation

NOTE: New cooler tubes come with a disposable clip to aid in installation.

1. Connect the transaxle fluid cooler tubes.
1. Connect the transaxle fluid cooler inlet tube.
2. Connect the transaxle fluid cooler outlet tube.
^ Pull back on each connector to confirm that it is locked on the cooler line.





2. Once the quick disconnect fitting is locked into place, remove and discard the disposable service clip.





3. Install the transaxle fluid cooler tubes to the transaxle.
^ Pull back on each connector to confirm that it is locked on the transaxle.





4. Check the automatic transmission fluid and fill if necessary.