Operation CHARM: Car repair manuals for everyone.
Manuals through 2025 now available!

Our trusted friends have launched a new website named LEMON, which has newer manuals. It also contains all the CHARM manuals.

LEMON is the spiritual successor to CHARM, I recommend you try it!

Link: lemon-manuals.la or lemon-manuals.org.ua

(Some people have issue connecting. LEMON is investigating. For now, use Firefox or change your DNS server)

Or, hide this message: temporarily or permanently

Part 3

Engine

Assembly (Steps 55-81)
55. Using a new gasket, install the RH exhaust manifold. Loosely install the 6 RH nuts.
56. Tighten the 6 nuts in the sequence shown.
^ Tighten to 25 Nm (18 ft. lbs).





57. Install the heat shield and the 3 nuts.
^ Tighten to 10 Nm (89 inch lbs).





58. Using a new gasket, install the LH exhaust manifold. Loosely install the 6 nuts.





59. Tighten the nuts in the sequence shown.
^ Tighten to 25 Nm (18 ft. lbs).





60. Refer to the illustration for intake manifold sealing components.





61. Install the lower intake manifold front and rear end seals.
1 Apply a bead of silicone gasket and sealant to the intake manifold front and rear end seal mounting points as indicated.
2 Install the lower intake manifold front and rear end seals.





62. Position the intake manifold gaskets.





63. NOTE: The lower intake manifold must be installed within 4 minutes of applying the sealant.

Position the lower intake manifold.
1 Apply a bead of silicone gasket and sealant to the lower intake manifold mounting at the points indicated.
2 Position the lower intake manifold.





64. NOTE: Make sure the bolts are installed in the correct locations.

Install the 6 long bolts.





65. Install the 8 short bolts.





66. Tighten the lower intake manifold bolts in 2 stages in the sequence shown.
^ Stage 1: Tighten to 5 Nm (44 inch lbs).
^ Stage 2: Tighten to 10 Nm (89 inch lbs).





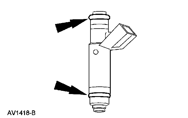
67. Install new O-ring seals on the fuel injectors.





68. NOTE: Lubricate the O-ring seals with clean engine oil to aid installation.

Install the fuel injectors and retaining clips on the fuel supply manifold.





69. Install the fuel rail, fuel injectors and fuel charging harness as an assembly and install the bolts.
^ Tighten to 10 Nm (89 inch lbs).





70. Using new gaskets, install the upper intake manifold and 8 bolts.
^ Tighten the 8 upper intake manifold bolts in 2 stages in the sequence shown.
- Stage 1: Tighten to 6 Nm (53 inch lbs).
- Stage 2: Tighten to 10 Nm (89 inch lbs).





71. Position the engine harness onto the engine and connect the engine harness-to-fuel charging harness electrical connector.





72. Position the vacuum harness onto the engine and connect the vacuum harness connection.





73. Install the ignition coil and 3 bolts.
^ Tighten to 6 Nm (53 inch lbs).





74. Install the engine harness pin-type retainer and connect the ignition coil electrical connector.





75. NOTE: Do not tighten the EGR system module-to-manifold tube lower fitting.

Install the EGR system module-to-manifold tube.





76. Attach the wire retainer to the throttle position (TP) sensor stud bolt.





77. Connect the:
1 Idle air control (IAC) electrical connector
2 TP sensor electrical connector
3 Exhaust gas recirculation (EGR) system module electrical connector
4 EGR system module vacuum connector
5 EGR system module-to-exhaust manifold tube upper fitting and tighten to 40 Nm (30 ft. lbs).





78. Tighten the EGR system module-to-manifold tube lower fitting.
^ Tighten to 40 Nm (30 ft. lbs).





79. Connect the cylinder head temperature (CHT) sensor electrical connector.





80. Connect the knock sensor (KS) electrical connector.





81. Install the 4 engine harness pin-type retainers.