Operation CHARM: Car repair manuals for everyone.
Manuals through 2025 now available!

Our trusted friends have launched a new website named LEMON, which has newer manuals. It also contains all the CHARM manuals.

LEMON is the spiritual successor to CHARM, I recommend you try it!

Link: lemon-manuals.la or lemon-manuals.org.ua

(Some people have issue connecting. LEMON is investigating. For now, use Firefox or change your DNS server)

Or, hide this message: temporarily or permanently

Subframe Bushings - Rear




Subframe Bushings - Rear


Special Tool(s):






Removal


Subframe Bushings - Rear:






All bushings


1. Remove the rear subframe. For additional information, refer to Subframe - Rear.


Front bushings


2. NOTE: Care must be used when removing the bushings from the subframe with a flat-blade screwdriver.

Remove the rear subframe front lower bushings with a flat-blade screwdriver.

3. Turn the subframe over.
4. Remove the rear subframe front upper bushings with a flat-blade screwdriver.


Rear bushings

5. Remove the rear subframe lower bushings with a flat-blade screwdriver.
6. Turn the subframe over.
7. Remove the rear subframe upper bushings with a flat-blade screwdriver.

Installation

Front bushings

1. NOTE: The bushings must be installed with the correct orientation or increased noise and vibration may result.

Assemble the special tools to the rear subframe with the new front bushings. The upper and lower bushings are installed at the same time.







2. Align the left front bushings to the rear subframe.
1 Align the left upper bushing.
2 Align left lower bushing.







3. Press the new front bushings into the rear subframe.
4. Align the right front bushings to the rear subframe.
1 Align the right upper bushing.
2 Align the right lower bushing.







5. Press the new front bushings into the rear subframe.

Rear bushings

6. Assemble the special tools to the rear subframe with the new rear bushings. The upper and lower bushings are installed at the same time.







7. NOTE: The bushings must be installed with the correct orientation or increased noise and vibration may result.

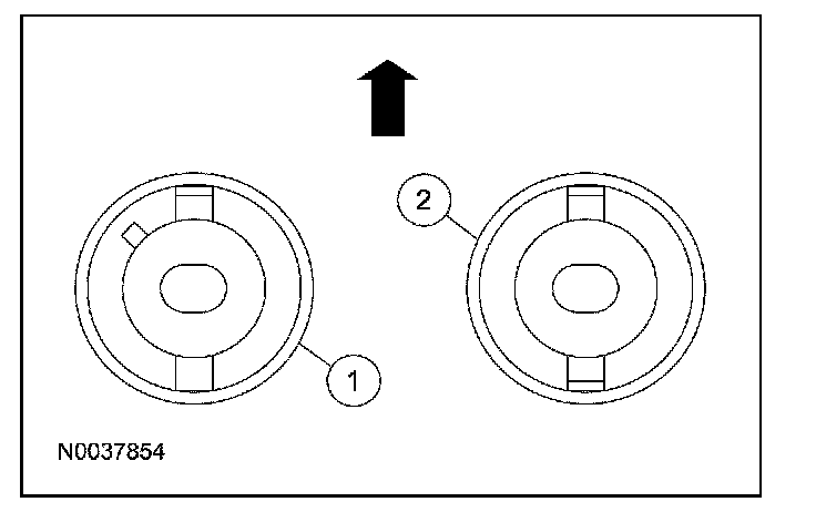
Align the rear bushings to the rear subframe.
1 Align the left and right upper bushings.
2 Align the left and right lower bushings.







8. Press the new rear bushings into the rear subframe.

All bushings

9. Install the rear subframe. For additional information, refer to Subframe - Rear.