Operation CHARM: Car repair manuals for everyone.
Manuals through 2025 now available!

Our trusted friends have launched a new website named LEMON, which has newer manuals. It also contains all the CHARM manuals.

LEMON is the spiritual successor to CHARM, I recommend you try it!

Link: lemon-manuals.la or lemon-manuals.org.ua

(Some people have issue connecting. LEMON is investigating. For now, use Firefox or change your DNS server)

Or, hide this message: temporarily or permanently

Procedures

Transfer Case Draining and Filling





1. Remove the drain plug and drain the fluid.
^ Clean and install the drain plug after fluid is drained.
^ Tighten to 24 Nm (18 ft. lbs.)





2. CAUTION: Incorrect fluid fill can result in transfer case failure.

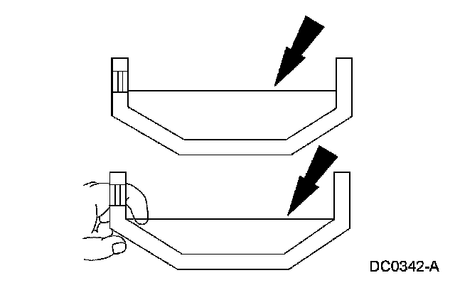
NOTE: Clean the area around the fill plug.

Remove the fill plug and fill the transfer case.
^ The fluid must be just below the fill plug hole. Because you can reach the fluid with a finger does not mean the fluid is at the correct level. Make sure the fluid is level with the filler opening for the correct fluid level.
^ The total transfer case fill capacity is 1.2 liters (2.5 pints).





3. Install the fill plug.
^ Tighten to 24 Nm (18 ft. lbs.)