Operation CHARM: Car repair manuals for everyone.
Manuals through 2025 now available!

Our trusted friends have launched a new website named LEMON, which has newer manuals. It also contains all the CHARM manuals.

LEMON is the spiritual successor to CHARM, I recommend you try it!

Link: lemon-manuals.la or lemon-manuals.org.ua

(Some people have issue connecting. LEMON is investigating. For now, use Firefox or change your DNS server)

Or, hide this message: temporarily or permanently

Valve Guide: Service and Repair

Valve Guide Inner Diameter

1. NOTE: Valve guides tend to wear in an hourglass pattern. The ball gauge can be inserted into the combustion chamber side of the valve guide if necessary.

Use a ball gauge to determine the inner diameter of the valve guides in 2 directions at the top, middle and bottom of the valve guide.





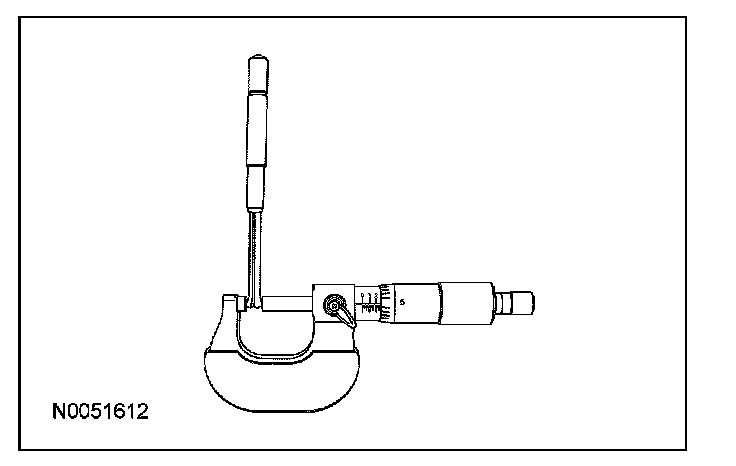
2. Measure the ball gauge with a micrometer.





3. If the valve guide is not within specifications, ream the valve guide and install a valve with an oversize stem or remove the valve guide and install a new valve guide.

Valve Guide Reaming
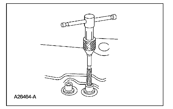
1. Use a hand-reaming kit to ream the valve guide.





2. Reface the valve seat.
3. Clean the sharp edges left by reaming.