Operation CHARM: Car repair manuals for everyone.
Manuals through 2025 now available!

Our trusted friends have launched a new website named LEMON, which has newer manuals. It also contains all the CHARM manuals.

LEMON is the spiritual successor to CHARM, I recommend you try it!

Link: lemon-manuals.la or lemon-manuals.org.ua

(Some people have issue connecting. LEMON is investigating. For now, use Firefox or change your DNS server)

Or, hide this message: temporarily or permanently

Part 1

Engine

Special Tool(s) (Part 1):




Special Tool(s) (Part 2):




Material:




Major Upper Engine Components (Part 1):




Major Upper Engine Components (Part 2):




Cylinder Block - Lower (Part 1):




Cylinder Block - Lower (Part 2):





Assembly (Steps 1-31)

CAUTION: During engine repair procedures, cleanliness is extremely important. Any foreign material, including any material created while cleaning gasket surfaces that enters the oil passages, coolant passages or the oil pan, can cause engine failure.

1. CAUTION: The crankshaft main bearings are precision fit.

Install the crankshaft upper main bearings.





2. NOTE: Lubricate the crankshaft journals and the crankshaft main bearings with clean engine oil.

Position the crankshaft.





3. NOTE: Lubricate the inner and outer sealing surfaces of the crankshaft rear seal with clean engine oil.

Install the crankshaft rear seal.





4. Apply 2 dots of gasket maker between the rear bearing cap and the cylinder block.





5. Install the crankshaft lower main bearings.





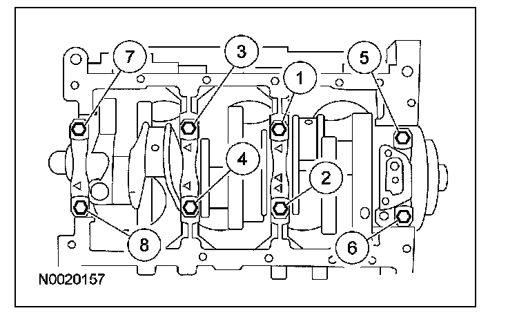
6. Install the 4 main bearing caps.





7. Install the 8 main bearing cap bolts in the sequence shown.
^ Tighten the bolts in pairs to 80 Nm (59 ft. lbs).
^ Carry out the crankshaft and crankshaft bearing component tests. Bearing Inspection





8. If removed, install new camshaft bearings.





9. NOTE: Lubricate the camshaft and the camshaft bearings with clean engine oil.

Install the camshaft.





10. Install the camshaft thrust plate and the 2 bolts.
^ Tighten to 10 Nm (89 inch lbs).





11. Inspect the camshaft end play.
12. Install the timing chain, the camshaft sprocket and the crankshaft sprocket as an assembly with the timing marks aligned.





13. Install the camshaft sprocket bolt.
^ Tighten to 63 Nm (46 ft. lbs).





14. NOTE: Lubricate the piston and connecting rod assemblies with clean engine oil.

Install the piston and connecting rod assemblies.





15. NOTE: Lubricate the connecting rod bearings with clean engine oil.

Install the connecting rod bearings.
16. Install the connecting rod caps and nuts.
^ Tighten the nuts in pairs to 35 Nm (26 ft. lbs).





17. Install the oil pump and bolt.
^ Tighten to 48 Nm (35 ft. lbs).





18. NOTE: Lubricate the valve tappets with clean engine oil.

Install the 12 valve tappets.





19. Install the 6 valve tappet guide plates.





20. Install the valve tappet guide plate retainer and the 2 bolts.
^ Tighten to 12 Nm (9 ft. lbs).





21. NOTE: The "V" notch in the cylinder head gasket faces the front of the engine.

Position new cylinder head gaskets on the engine.





22. Position the cylinder heads.





23. Install the cylinder head bolts.
^ Tighten the bolts in 5 stages in the sequence shown.
- Stage 1: Tighten to 50 Nm (37 ft. lbs).
- Stage 2: Loosen the bolts 1 full turn.
- Stage 3: Tighten to 30 Nm (22 ft. lbs).
- Stage 4: Rotate an additional 90 degrees.
- Stage 5: Rotate an additional 90 degrees.





24. Install the oil filter.





25. CAUTION: All timing marks must be aligned with the No. 1 cylinder set on top dead center (TDC) of the compression stroke or the synchronizer assembly will not be installed correctly.

NOTE: The crankshaft must not be turned until the camshaft synchronizer is installed.

Align the timing marks.





26. Install a new engine front cover gasket and the engine front cover.





27. Install the engine front cover and coolant pump assembly.
1. Apply pipe sealant with Teflon(R) to the bolts indicated.
2. Install the 5 bolts and 5 stud bolts and tighten to 25 Nm (18 ft. lbs).





28. NOTE: If the oil pan is not secured within 4 minutes, the sealant must be removed and the sealing area cleaned with metal surface cleaner. Allow to dry until there is no sign of wetness or 4 minutes, whichever is longer. Failure to follow this procedure can cause future oil leakage.

Apply 4 beads of silicone gasket and sealant.





29. Position the oil pan gasket.





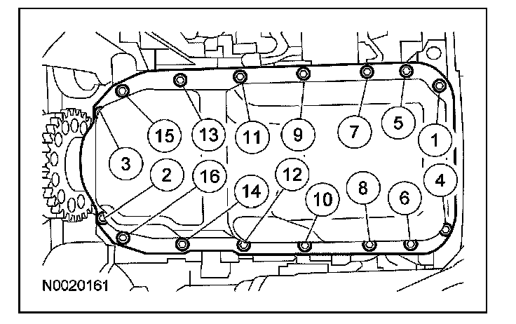
30. Position the oil pan and hand-start the bolts.





31. NOTE: Make sure the fasteners are clean and dry prior to installation.

Tighten the oil pan bolts to 12 Nm (9 ft. lbs) in the sequence shown.