Operation CHARM: Car repair manuals for everyone.
Manuals through 2025 now available!

Our trusted friends have launched a new website named LEMON, which has newer manuals. It also contains all the CHARM manuals.

LEMON is the spiritual successor to CHARM, I recommend you try it!

Link: lemon-manuals.la or lemon-manuals.org.ua

(Some people have issue connecting. LEMON is investigating. For now, use Firefox or change your DNS server)

Or, hide this message: temporarily or permanently

Connecting Rod

Connecting Rod Cleaning

CAUTION: Do not use a caustic cleaning solution or damage to connecting rods can occur.

1. NOTE: The connecting rod large end is a matched set. The connecting rod cap must be installed on the original connecting rod in the original position. Do not reverse the cap. Parts are not interchangeable.

Mark and separate the parts and clean with solvent. Clean the oil passages.





Connecting Rod Large End Bore
1. Tighten the bolts to specification, then measure the bore in 2 directions. The difference is the connecting rod bore out-of-round. Verify the out-of-round is within specification.
^ If out of specification, install new components as necessary.





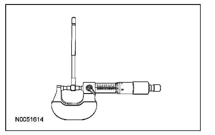
Connecting Rod Bushing Diameter
1. Use a telescoping gauge to determine the inner diameter of the connecting rod bushing, if equipped.





2. Measure the telescoping gauge with a micrometer. Verify the diameter is within specification.
^ If out of specification, install new components as necessary.





Connecting Rod Bend
1. Measure the connecting rod bend on a suitable alignment fixture. Follow the instructions of the fixture manufacturer. Verify the bend measurement is within specification.
^ If out of specification, install new components as necessary.





Connecting Rod Twist
1. Measure the connecting rod twist on a suitable alignment fixture. Follow the instructions of the fixture manufacturer. Verify the measurement is within specification.
^ If out of specification, install new components as necessary.





Connecting Rod Bearing Journal-to-Bearing Clearance

NOTE: The crankshaft connecting rod journals must be within specifications to check the connecting rod bearing journal clearance.

1. Remove the connecting rod bearing cap.
2. Position a piece of Plastigage(R) across the bearing surface.





3. NOTE: Do not turn the crankshaft during this step.

Install and tighten to specifications, then remove the connecting rod bearing cap.
4. Measure the Plastigage(R) to get the connecting rod bearing journal clearance. The Plastigage(R) should be smooth and flat. A changing width indicates a tapered or damaged connecting rod or connecting rod bearing.
^ If out of specification, install new components as necessary.