Operation CHARM: Car repair manuals for everyone.
Manuals through 2025 now available!

Our trusted friends have launched a new website named LEMON, which has newer manuals. It also contains all the CHARM manuals.

LEMON is the spiritual successor to CHARM, I recommend you try it!

Link: lemon-manuals.la or lemon-manuals.org.ua

(Some people have issue connecting. LEMON is investigating. For now, use Firefox or change your DNS server)

Or, hide this message: temporarily or permanently

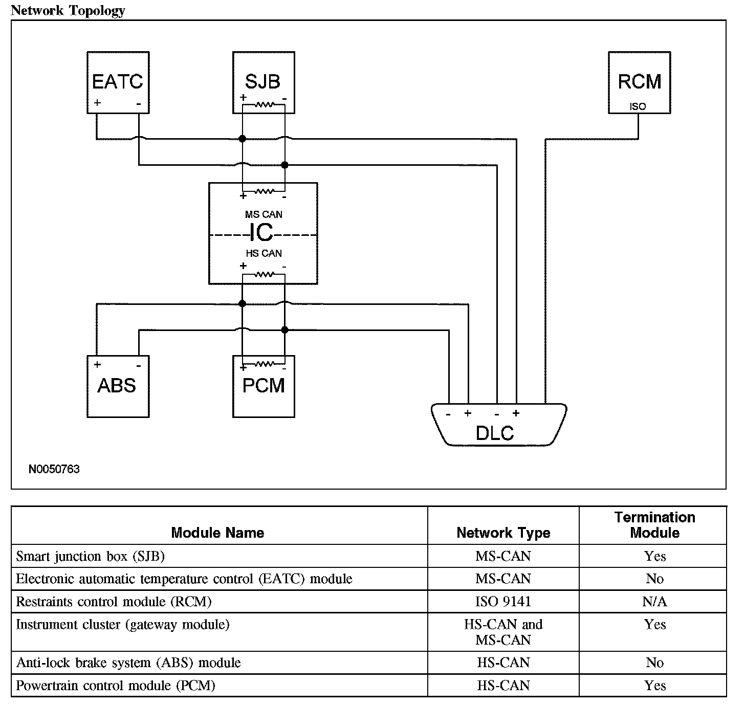
Information Bus: Description and Operation

COMMUNICATIONS NETWORK

Vehicle communication utilizes both International Standards Organization (ISO) 9141 and controller area network (CAN) communications. ISO 9141 is used for diagnostic use only, and CAN is used for many modules to communicate with each other on a common network. CAN in-vehicle networking, is a method for transferring data among distributed electronic modules via a serial data bus. Without serial networking, intermodule communication requires dedicated, point to point wiring resulting in bulky, expensive, complex, and difficult to install wiring harnesses. Applying a serial data network reduces the number of wires combining the signals on a single network. Information is sent to the individual control modules that control each function.

The vehicle has 3 module communication networks:
- ISO 9141
- Medium speed (MS) CAN
- High speed (HS) CAN

All 3 networks are connected to the data link connector (DLC). This makes diagnosis and testing of these systems easier by allowing one scan tool to be able to diagnose and control any module on the 3 networks from one connector. The DLC can be found under the instrument panel between the steering column and the audio unit.


Network Topology:






ISO 9141 Network Operation
The ISO 9141 communications network is a single wire network. The ISO 9141 communication network is used by the following module:
- RCM

MS-CAN Network Operation
The MS-CAN network communicates using bussed messages. The MS-CAN has an unshielded twisted pair cable, data bus (+) and data bus (-) circuits. In addition to scan tool communication, this network allows sharing of information between all modules on the network.

The MS-CAN is a medium speed communication network used for the following modules:
- SJB
- EATC module
- Instrument cluster

HS-CAN Network Operation
The HS-CAN network communicates using bussed messages. The HS-CAN network uses an unshielded twisted pair cable, data bus (+) and data bus (-) circuits. In addition to scan tool communication, this network allows sharing of information between all modules on the network. The

HS-CAN is a high speed communication network used for the following modules:
- PCM
- ABS
- Instrument cluster

Network Termination
The CAN bus (+) and bus (-) circuits must always be terminated. The network termination of the CAN bus takes place inside a termination module by termination resistors. The resistors are located internal to the module, and are required for both the bus (+) and bus (-) circuits. Each resistor is rated at 120 ohms, and are located across the (+) and (-) circuits. The resistors are wired in parallel to the network bus circuits, for a total operating resistance of 60 ohms on a good network.

Network termination provides the following:
- Message reliability.
- Voltage stability.
- Eliminates outside interference.

Gateway Module
The instrument cluster acts as a gateway by "translating" HS-CAN to MS-CAN or vice versa. This allows information to be shared across the 2 networks and additionally, the instrument cluster has information from both networks. The instrument cluster is the only module on this vehicle that has this ability.