Operation CHARM: Car repair manuals for everyone.
Manuals through 2025 now available!

Our trusted friends have launched a new website named LEMON, which has newer manuals. It also contains all the CHARM manuals.

LEMON is the spiritual successor to CHARM, I recommend you try it!

Link: lemon-manuals.la or lemon-manuals.org.ua

(Some people have issue connecting. LEMON is investigating. For now, use Firefox or change your DNS server)

Or, hide this message: temporarily or permanently

Front

Brake Pads

Disc Brake System - Exploded View - Front Brake Components:








Removal

WARNING: Do not use any fluid other than clean brake fluid meeting manufacturer's specification. Additionally, do not use brake fluid that has been previously drained. Following these instructions will help prevent system contamination, brake component damage and the risk of serious personal injury.

WARNING: Carefully read cautionary information on product label. For EMERGENCY MEDICAL INFORMATION seek medical advice. In the USA or Canada on Ford/Motorcraft products call: 1-800-959-3673. For additional information, consult the product Material Safety Data Sheet (MSDS) if available. Failure to follow these instructions may result in serious personal injury.

WARNING: Always install new brake shoes or pads at both ends of an axle to reduce the possibility of brakes pulling vehicle to one side. Failure to follow this instruction may result in uneven braking and serious personal injury.

CAUTION: Brake fluid is harmful to painted and plastic surfaces. If brake fluid is spilled onto a painted or plastic surface, immediately wash it with water.

1. Check the brake fluid level in the brake master cylinder reservoir.
^ If required, remove the fluid until the brake master cylinder reservoir is half full.
2. Remove the wheel and tire.
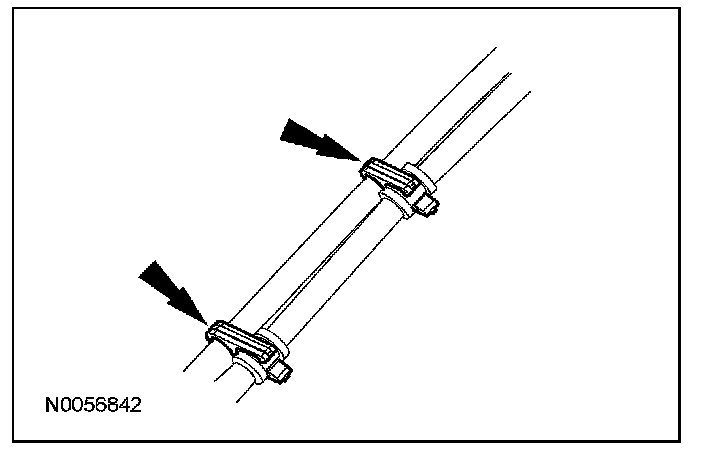
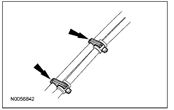
3. Release the wheel speed sensor wiring harness from the brake flexible hose.





4. CAUTION: Do not pry in the caliper sight hole to retract the pistons, as this can damage the pistons and boots.

CAUTION: Do not allow the brake caliper to hang from the brake caliper flexible hose or damage to the hose can occur.

Remove the 2 brake caliper guide pin bolts and position the caliper aside.
^ Support the caliper using mechanic's wire.
5. Remove the 2 brake pads and if equipped, remove the 4 retraction clips.
^ Discard the retraction clips.

Installation

1. CAUTION: Do not allow grease, oil, brake fluid or other contaminants to contact the pad lining material or damage to components may occur. Do not install contaminated pads.

NOTE: If installing new brake pads, install all new hardware as supplied with the brake pad kit.

Install the 4 new retracting clips and the 2 brake pads.

2. CAUTION: Protect the caliper pistons and boots when pushing the caliper pistons into the caliper piston bores or damage to components may occur.

If installing new brake pads, using a C-clamp and a worn brake pad, compress the brake caliper pistons into the caliper.





3. CAUTION: To prevent deterioration of the caliper sleeve boots, do not use petroleum-based lubricant.

Fill the rubber caliper sleeve boots with specified grease.
4. Install the brake pads.
5. Attach the wheel speed sensor wiring harness to the brake flexible hose.





6. CAUTION: Tighten the bottom caliper bolt before tightening the top caliper bolt or damage to guide pins may occur.

CAUTION: Make sure the caliper pin boots are correctly seated to prevent damage to the guide pins.

Position the brake caliper and install the 2 guide pin bolts.
^ Tighten to 37 Nm (27 lb-ft).
7. Install the wheel and tire.
8. Fill the brake master cylinder reservoir with clean, specified brake fluid.
^ Apply brakes several times to verify correct brake operation.