Operation CHARM: Car repair manuals for everyone.
Manuals through 2025 now available!

Our trusted friends have launched a new website named LEMON, which has newer manuals. It also contains all the CHARM manuals.

LEMON is the spiritual successor to CHARM, I recommend you try it!

Link: lemon-manuals.la or lemon-manuals.org.ua

(Some people have issue connecting. LEMON is investigating. For now, use Firefox or change your DNS server)

Or, hide this message: temporarily or permanently

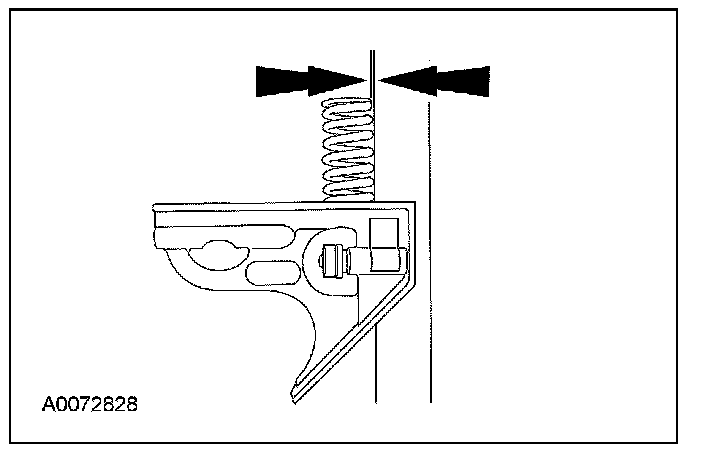
Valve Spring

Valve Spring Installed Length
1. Measure the installed length of each valve spring.





Valve Spring Free Length
1. Measure the free length of each valve spring.





Valve Spring Squareness
1. Measure the out-of-square on each valve spring.
^ Turn the valve spring and observe the space between the top of the valve spring and the square.





Valve Spring Strength





1. Use the special tool to check the valve spring for correct strength at the specified valve spring length.