Operation CHARM: Car repair manuals for everyone.
Manuals through 2025 now available!

Our trusted friends have launched a new website named LEMON, which has newer manuals. It also contains all the CHARM manuals.

LEMON is the spiritual successor to CHARM, I recommend you try it!

Link: lemon-manuals.la or lemon-manuals.org.ua

(Some people have issue connecting. LEMON is investigating. For now, use Firefox or change your DNS server)

Or, hide this message: temporarily or permanently

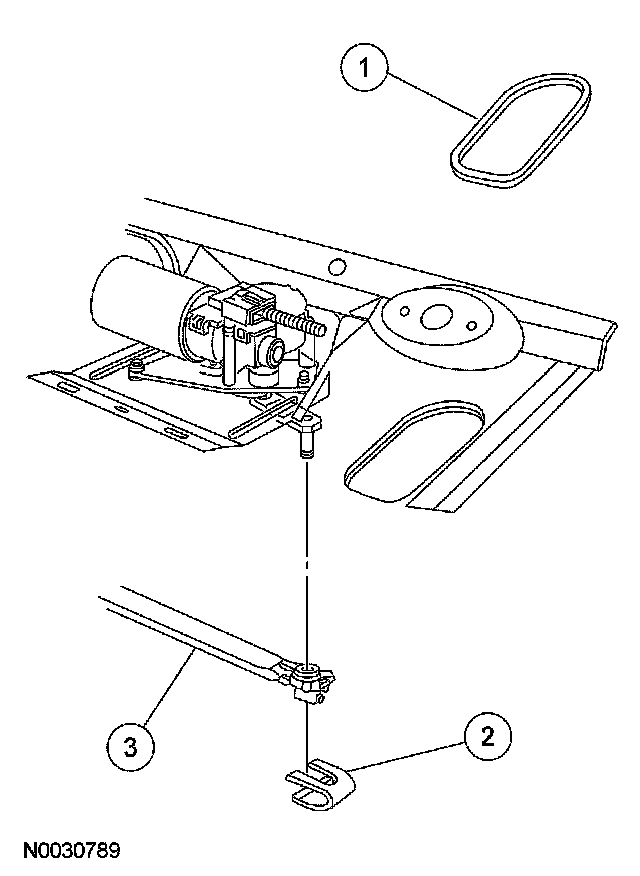
Wiper Motor: Service and Repair

WIPER MOTOR

Exploded View


Front Wiper System:






Front Washer System:






Removal and Installation
1. Remove the windshield wiper pivot arms.
2. Remove the cowl top vent panels.
3. Disconnect the windshield wiper mounting arm and pivot shaft.
1 Remove the access cover from the dash panel.
2 Remove the retaining clip.
3 Disconnect the windshield wiper mounting arm and pivot shaft from the windshield wiper motor.







4. Remove the windshield wiper motor.
1 Disconnect the electrical connector.
2 Remove the 3 bolts.
- To install, tighten to 4 Nm (35 lb-in).

3 Remove the windshield wiper motor.







5. To install, reverse the removal procedure.