Operation CHARM: Car repair manuals for everyone.
Manuals through 2025 now available!

Our trusted friends have launched a new website named LEMON, which has newer manuals. It also contains all the CHARM manuals.

LEMON is the spiritual successor to CHARM, I recommend you try it!

Link: lemon-manuals.la or lemon-manuals.org.ua

(Some people have issue connecting. LEMON is investigating. For now, use Firefox or change your DNS server)

Or, hide this message: temporarily or permanently

Parking Brake System: Service and Repair



Parking Brake - Transmission Mounted






Removal

1. NOTE: The parking brake control must be fully released.

Place the transmission in DRIVE and release the parking brake control.

2. With the vehicle in NEUTRAL, position it on a hoist.

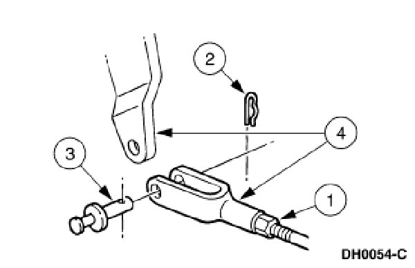
3. Disconnect the front parking brake cable and conduit.
1 Loosen the jam nut.
2 Remove the locking pin.
3 Remove the clevis pin.
4 Remove the adjusting clevis from the parking brake lever.
^ Apply lubricant to the adjusting clevis, jam nut and the threads of the front parking brake cable and conduit.






4. Compress the retainer and remove the front parking brake cable and conduit from the cable bracket.







5. Remove the driveshaft.

6. Remove the parking brake assembly.
1 Keep the parking brake vent upward to prevent contamination of the parking brake shoes and linings.
2 Remove the 6 bolts and the parking brake assembly from the transmission extension housing. Discard the bolts.







Installation

1. Mount the parking brake assembly.
1 Position the parking brake on the transmission extension housing.
2 Install and tighten the 6 new transmission-to-parking brake bolts.






Caution: If installing a new parking brake assembly, fill it with clean automatic transmission fluid after mounting it to the transmission extension housing.

2. Check and if necessary, fill the parking brake assembly with clean automatic transmission fluid to the bottom of the filler plug hole.
- Install and tighten the filler plug.






3. Install the driveshaft.

4. Position the front parking brake cable and conduit and press the retainer into the cable bracket until it snaps into place.







5. Set the adjusting clevis.
1 Loosen the jam nut several turns.
2 Position the parking brake lever in the applied position.
3 Tighten or loosen the adjusting clevis until the adjusting clevis hole lines up with the parking brake lever hole, and then loosen the adjusting clevis.






6. Install the pins and tighten the jam nut.
1 Install the clevis pin through the adjusting clevis and the parking brake lever.
2 Install the locking pin in the clevis pin.
3 Tighten the jam nut.






7. Lower the vehicle.

8. Test the parking brake.