Operation CHARM: Car repair manuals for everyone.
Manuals through 2025 now available!

Our trusted friends have launched a new website named LEMON, which has newer manuals. It also contains all the CHARM manuals.

LEMON is the spiritual successor to CHARM, I recommend you try it!

Link: lemon-manuals.la or lemon-manuals.org.ua

(Some people have issue connecting. LEMON is investigating. For now, use Firefox or change your DNS server)

Or, hide this message: temporarily or permanently

Part 2



Engine

Assembly

65. NOTE: Do not install the crankshaft pulley bolt at this time.

NOTE: Apply clean engine oil on the seal area before installing.

Position the crankshaft pulley onto the crankshaft with the hole in the pulley at the 6 o'clock position.





66. CAUTION: Only hand-tighten the 6 mm (0.23 in) bolt or damage to the front cover can occur.

NOTE: This step will correctly align the crankshaft pulley to the crankshaft.

Install a standard 6 mm (0.23 in) x 18 mm (0.7 in) bolt through the crankshaft pulley and thread it into the front cover.





67. CAUTION: The crankshaft must remain in the top dead center (TDC) position during installation of the pulley bolt or damage to the engine can occur. Therefore, the crankshaft pulley must be held in place with the special tool and the bolt should be installed using hand tools only.

NOTE: Do not reuse the crankshaft pulley bolt.

Install a new crankshaft pulley bolt. Using the special tools to hold the crankshaft pulley in place, tighten the crankshaft pulley bolt in 2 stages:
^ Stage 1: Tighten to 100 Nm (74 lb-ft).
^ Stage 2: Tighten an additional 90 degrees (1/4 turn).





68. Remove the 6 mm (0.23 in) x 18 mm (0.7 in) bolt.





69. Remove the special tool.





70. Remove the special tool.





71. NOTE: Only turn the engine in the normal direction of rotation.

Turn the crankshaft clockwise 1 and 3/4 turns.

72. Install the special tool.





73. NOTE: Only turn the engine in the normal direction of rotation.

Turn the crankshaft clockwise until the crankshaft contacts the special tool.





74. CAUTION: Only hand-tighten the bolt or damage to the front cover can occur.

Using the 6 mm (0.23 in) x 18 mm (0.7 in) bolt, check the position of the crankshaft pulley.
^ If it is not possible to install the bolt, the engine valve timing must be corrected.





75. Using the special tool, check the position of the camshafts.
^ If it is not possible to install the special tool, the engine valve timing must be corrected.





76. Remove the special tool.





77. NOTE: Whenever the crankshaft position (CKP) sensor is removed, a new one must be installed using the alignment tool supplied with the new part.

Install a new CKP sensor and the 2 bolts.
^ Do not tighten the bolts at this time.





78. NOTE: The CKP sensor alignment tool is supplied with the new sensor and is not available separately.

Adjust the CKP sensor with the alignment tool.
^ Tighten the 2 CKP bolts to 7 Nm (62 lb-in).





79. Remove the 6 mm (0.23 in) x 18 mm (0.7 in) bolt.





80. Remove the special tool.





81. Install the engine plug bolt.
^ Tighten to 20 Nm (15 lb-ft).





82. CAUTION: Do not use metal scrapers, wire brushes, power abrasive discs or other abrasive means to clean the sealing surfaces. These tools cause scratches and gouges which make leak paths.

Clean the valve cover gasket surface with metal surface cleaner.

83. Apply silicone gasket and sealant to the locations shown.





84. NOTE: The valve cover must be secured within 4 minutes of silicone gasket application. If the valve cover is not secured within 4 minutes, the sealant must be removed and the sealing area cleaned with metal surface cleaner.

Install the valve cover.
^ Tighten the bolts in the sequence shown to 10 Nm (89 lb-in).





85. CAUTION: Only use hand tools when removing or installing the spark plugs or damage can occur to the cylinder head or spark plug.

Install a new cylinder head temperature (CHT) sensor and the spark plugs.
^ Tighten the CHT sensor to 12 Nm (9 lb-ft).
^ Tighten the spark plugs to 12 Nm (9 lb-ft).





86. NOTE: Apply dielectric compound to the inside of the coil-on-plug boots.

Install the coil-on-plugs, stud bolts and the crankcase vent tube.
^ Tighten to 8 Nm (71 lb-in).





87. If equipped, install the block heater.
^ Tighten to 21 Nm (15 lb-ft).





88. NOTE: The knock sensor (KS) must not touch the crankcase vent oil separator.

Install the crankcase vent oil separator and the KS.
^ Tighten the oil separator bolts to 10 Nm (89 lb-in).
^ Tighten the KS to 20 Nm (15 lb-ft).





89. Install the coolant hoses.





90. Install the coolant hose.





91. Install the coolant hose.





92. Position the engine control wiring harness on the engine and connect the CHT sensor and install the rubber boot.





93. Attach the wiring harness retainer.





94. Connect the coil-on-plug and camshaft position (CMP) sensor electrical connectors.





95. Connect the exhaust gas recirculation (EGR) valve electrical connectors. Attach the wiring harness retainer.





96. Attach the wiring harness retainer.





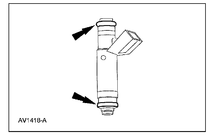
97. CAUTION: Use O-ring seals that are made of special fuel-resistant material. Use of ordinary O-rings can cause the fuel system to leak. Do not reuse the O-ring seals.

Install new fuel injector O-rings.
^ Separate the fuel injectors from the fuel rail.
^ Remove and discard the fuel injector O-rings.
^ Install new O-rings and lubricate with clean engine oil.
^ Install the fuel injectors onto the fuel rail.





98. Install the fuel rail with the fuel injectors and stud bolts.
^ Tighten to 23 Nm (17 lb-ft).





99. Install the radio capacitor and nut.
^ Tighten to 10 Nm (89 lb-in).





100. Connect the 4 fuel injector electrical connectors. Attach the 2 wiring harness retainers.





101. Install the EGR tube.
^ Tighten to 55 Nm (41 lb-ft).





102. Position the intake manifold and connect the positive crankcase ventilation hose.





103. NOTE: Inspect and install new intake manifold gaskets, if necessary.

Install the intake manifold gaskets and intake manifold.
^ Tighten the bolts to 18 Nm (13 lb-ft).





104. Connect the throttle position (TP) sensor electrical connector.





105. Connect the radio capacitor electrical connector.





106. Connect the fuel rail pressure and temperature sensor electrical connector and vacuum tube.





107. Connect the swirl control valve electrical connector.





108. Connect the idle air control (IAC) motor electrical connector.





109. Connect the temperature manifold absolute pressure (TMAP) electrical connector.





110. Connect the KS and attach the 2 wiring harness retainers.





111. Attach the 2 wiring harness retainers.





112. If removed, install the capacitor and bolt.
^ Tighten to 20 Nm (15 lb-ft).





113. NOTE: Clean the gasket mating surfaces with metal surface cleaner.

Install the oil filter adapter with a new gasket.
^ Tighten to 25 Nm (18 lb-ft).





114. Install a new oil filter.
^ Tighten the oil filter 3/4 turn after the oil filter gasket makes contact with the oil filter adapter.





115. Connect the engine oil pressure (EOP) switch electrical connector.





116. NOTE: Install a new O-ring seal on the oil level indicator tube and lubricate with clean engine oil prior to installing.

Install the oil level indicator and bolt.
^ Tighten to 10 Nm (89 lb-in).





117. NOTE: Clean and inspect the thermostat housing gasket. Install a new gasket, if necessary.

Install the thermostat housing and bolts.
^ Tighten to 10 Nm (89 lb-in).





118. Attach the 2 wiring harness retainers.





119. NOTE: Clean the coolant pump mating surface with metal surface cleaner.

NOTE: Lubricate the coolant pump O-ring with clean engine coolant.

Install the coolant pump and bolts.
^ Tighten to 10 Nm (89 lb-in).





120. Install the 3 coolant pump pulley and bolts.
^ Tighten to 20 Nm (15 lb-ft).





121. Install the accessory drive belt idler pulley and bracket and the 3 bolts.
^ Tighten to 25 Nm (18 lb-ft).





122. Install the accessory drive belt idler pulley.
^ Tighten to 25 Nm (18 lb-ft).





123. Install the generator, nut and bolts.
^ Tighten to 47 Nm (35 lb-ft).





Front wheel drive (FWD) vehicles

124. Install 7 new exhaust manifold studs in the cylinder head.
^ Tighten to 17 Nm (13 lb-ft).

125. Install the new exhaust manifold gasket on the engine.

126. CAUTION: Failure to tighten the catalytic converter nuts to specification before installing the converter bracket bolts will cause the converter to develop an exhaust leak.

CAUTION: Failure to tighten the catalytic converter nuts to specification a second time will cause the converter to develop an exhaust leak.

NOTE: Make sure to tighten the nuts in the sequence in 2 stages.

Position the catalytic converter and tighten the 7 new exhaust manifold nuts in the sequence shown in 2 stages:
^ Stage 1: Tighten to 47 Nm (35 lb-ft).
^ Stage 2: Tighten to 47 Nm (35 lb-ft).





127. Install the heat shield and the 6 bolts.
^ Tighten to 10 Nm (89 lb-in).





128. Install the 2 catalytic converter bracket bolts.
^ Tighten to 25 Nm (18 lb-ft).





All vehicles

129. Connect the generator electrical connections and install the nut.
^ Tighten to 6 Nm (53 lb-in).





130. Connect the CKP sensor electrical connector.





131. Using the heavy duty floor crane and spreader bar, remove the engine from the engine stand.

Vehicles with automatic transaxle

132. Install the flexplate and the bolts. Tighten the bolts in the sequence shown in 3 stages:
^ Stage 1: Tighten to 50 Nm (37 lb-ft).
^ Stage 2: Tighten to 80 Nm (59 lb-ft).
^ Stage 3: Tighten to 112 Nm (83 lb-ft).





Vehicles with manual transaxle

133. Install the flywheel and the bolts. Tighten the bolts in the sequence shown in 3 stages:
^ Stage 1: Tighten to 50 Nm (37 lb-ft).
^ Stage 2: Tighten to 80 Nm (59 lb-ft).
^ Stage 3: Tighten to 112 Nm (83 lb-ft).





134. Install the starter motor isolator.





135. NOTE: Use a clutch disc aligner (such as OTC© Clutch Alignment Tool Set 4528 or equivalent).

Using a suitable clutch disc aligner, position the clutch disc on the flywheel.





136. NOTE: If reusing the clutch pressure plate and flywheel, align the marks made during removal.

Position the clutch pressure plate and install the bolts.
^ Tighten to 29 Nm (21 lb-ft) in a star pattern sequence.