Operation CHARM: Car repair manuals for everyone.
Manuals through 2025 now available!

Our trusted friends have launched a new website named LEMON, which has newer manuals. It also contains all the CHARM manuals.

LEMON is the spiritual successor to CHARM, I recommend you try it!

Link: lemon-manuals.la or lemon-manuals.org.ua

(Some people have issue connecting. LEMON is investigating. For now, use Firefox or change your DNS server)

Or, hide this message: temporarily or permanently

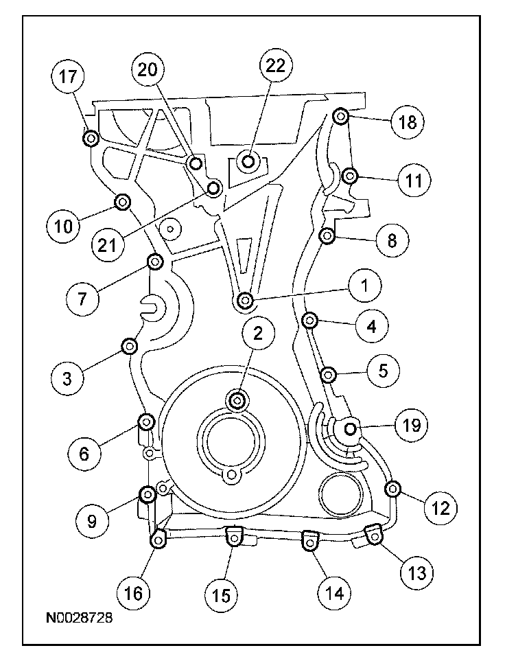
System Specifications

Timing Chain Tensioner Bolts 10 Nm (89 lb-in).

Crankshaft Pulley Bolt

NOTE: Do not reuse the crankshaft pulley bolt.

First pass 100 Nm (74 lb-ft).
Final pass Tighten an additional 90° (1/4 turn)

Engine Front Cover Bolts





8 mm bolts 10 Nm (89 lb-in).
13 mm bolts 48 Nm (35 lb-ft).