Operation CHARM: Car repair manuals for everyone.
Manuals through 2025 now available!

Our trusted friends have launched a new website named LEMON, which has newer manuals. It also contains all the CHARM manuals.

LEMON is the spiritual successor to CHARM, I recommend you try it!

Link: lemon-manuals.la or lemon-manuals.org.ua

(Some people have issue connecting. LEMON is investigating. For now, use Firefox or change your DNS server)

Or, hide this message: temporarily or permanently

Part 2

Engine

Special Tool(s) (Part 1):




Special Tool(s) (Part 2):




Special Tool(s) (Part 3):




Material (Part 1):




Material (Part 2):




Engine - Upper End (Part 1):




Engine - Upper End (Part 2):




Engine - Upper End (Part 3):




Engine - Upper End (Part 4):




Engine - Front End (Part 1):




Engine - Front End (Part 2):




Engine - Lower End (Part 1):




Engine - Lower End (Part 2):








Assembly (Steps 54-108)

54. NOTE: Lubricate the new O-ring seal with clean engine oil prior to installation.

Install the LH camshaft position (CMP) sensor and the bolt.
^ Tighten to 10 Nm (89 lb-in).





55. NOTE: Lubricate the new O-ring seal with clean engine oil prior to installation.

Install the RH CMP sensor and the bolt.
^ Tighten to 10 Nm (89 lb-in).





56. CAUTION: Do not rotate the coolant pump housing once the coolant pump has been positioned in the cylinder block. Damage to the O-ring seal will occur.

Position the coolant pump and install the bolts loosely.
^ Lubricate the new O-ring seal using clean engine coolant and install the O-ring seal onto the coolant pump.





57. Tighten the 4 coolant pump bolts.
^ Tighten to 25 Nm (18 lb-ft).





58. Lubricate the engine front cover and the crankshaft seal inner lip with clean engine oil.





59. Using the special tools, install a new crankshaft seal into the engine front cover.





60. NOTE: If not secured within 4 minutes, the sealant must be removed and the sealing area cleaned. To clean the sealing area, use silicone gasket remover and metal surface prep. Follow the directions on the packaging. Allow to dry until there is no sign of wetness, or 4 minutes, whichever is longer. Failure to follow this procedure can cause future oil leakage.

Apply silicone gasket and sealant to the Woodruff key slot on the crankshaft pulley.





61. Use the special tool to install the crankshaft pulley.





62. Tighten the new crankshaft pulley bolt in 4 stages.
^ Stage 1: Tighten to 90 Nm (66 lb-ft).
^ Stage 2: Loosen 360 degrees.
^ Stage 3: Tighten to 50 Nm (37 lb-ft).
^ Stage 4: Tighten an additional 90 degrees.





63. Position the crankshaft position (CKP) sensor and the bolt.
^ Install the new O-ring seal and lubricate the new O-ring seal with clean engine oil prior to installation.
^ Tighten to 10 Nm (89 lb-in).





64. Position the accessory drive belt tensioner and install the 3 bolts.
^ Tighten to 25 Nm (18 lb-ft).





65. Install the 3 accessory drive belt idler pulleys, the coolant pump pulley and the 7 bolts.
^ Tighten to 25 Nm (18 lb-ft).





66. CAUTION: Do not use metal scrapers, wire brushes, power abrasive discs or other abrasive means to clean the sealing surfaces. These tools cause scratches and gouges which make leak paths. Use a plastic scraping tool to remove all traces of old sealant.

NOTE: Clean and inspect the mating surfaces, and install new gaskets.

Position the oil filter adapter and install the 4 bolts.
^ Tighten to 25 Nm (18 lb-ft).





67. Install 8 new LH exhaust manifold-to-cylinder head studs.
^ Tighten to 12 Nm (9 lb-ft).





68. Position a new gasket, the LH exhaust manifold and tighten the 8 new nuts in the sequence shown.
^ Tighten to 25 Nm (18 lb-ft).





69. NOTE: Clean the engine support insulator-to-cylinder block mating surfaces of any dirt or foreign material prior to installation.

Install the LH engine support insulator and the 3 bolts.
^ Apply Threadlock(R) to the bolt threads prior to installation.
^ Tighten to 63 Nm (46 lb-ft).





70. Install 8 new RH exhaust manifold-to-cylinder head studs.
^ Tighten to 12 Nm (9 lb-ft).





71. Position a new gasket, the RH exhaust manifold and tighten the 8 new nuts in the sequence shown.
^ Tighten to 25 Nm (18 lb-ft).





72. NOTE: Clean the engine support insulator-to-cylinder block mating surfaces of any dirt or foreign material prior to installation.

Install the RH engine support insulator and the 3 bolts.
^ Apply Threadlock(R) to the bolt threads prior to installation.
^ Tighten to 63 Nm (46 lb-ft).





73. CAUTION: Do not use metal scrapers, wire brushes, power abrasive discs or other abrasive means to clean sealing surfaces. These tools cause scratches and gouges which make leak paths. Use a plastic scraping tool to remove all traces of old sealant.

Clean the valve cover mating surface with silicone gasket remover and metal surface prep. Follow the directions on the packaging.

74. NOTE: If not secured within 4 minutes, the sealant must be removed and the sealing area cleaned. To clean the sealing area, use silicone gasket remover and metal surface prep. Follow the directions on the packaging. Allow to dry until there is no sign of wetness, or 4 minutes, whichever is longer. Failure to follow this procedure can cause future oil leakage.

Apply silicone gasket and sealant in 2 places where the engine front cover meets the cylinder head.





75. CAUTION: When installing the valve cover, make sure to avoid damaging the variable camshaft timing (VCT) solenoid.

Position the RH valve cover and gasket on the cylinder head and tighten the fasteners in the sequence shown.
^ Tighten to 10 Nm (89 lb-in).





76. CAUTION: Do not use metal scrapers, wire brushes, power abrasive discs or other abrasive means to clean sealing surfaces. These tools cause scratches and gouges which make leak paths. Use a plastic scraping tool to remove all traces of old sealant.

Clean the valve cover mating surface with silicone gasket remover and metal surface prep. Follow the directions on the packaging.





77. NOTE: If not secured within 4 minutes, the sealant must be removed and the sealing area cleaned. To clean the sealing area, use silicone gasket remover and metal surface prep. Follow the directions on the packaging. Allow to dry until there is no sign of wetness, or 4 minutes, whichever is longer. Failure to follow this procedure can cause future oil leakage.

Apply silicone gasket and sealant in 2 places where the engine front cover meets the cylinder head.





78. CAUTION: When installing the valve cover, make sure to avoid damaging the variable camshaft timing (VCT) solenoid.

Position the LH valve cover and gasket on the cylinder head and tighten the fasteners in the sequence shown.
^ Tighten to 10 Nm (89 lb-in).





79. Install the oil level indicator tube and the bolt.
^ Install a new O-ring seal and lubricate the O-ring seal with clean engine oil prior to installation.
^ Tighten to 10 Nm (89 lb-in).





80. NOTE: Do not reuse the O-ring seals.

NOTE: Lubricate the O-ring seals with clean engine coolant prior to installation.

Slide the coolant tube forward with the new O-ring seals into the cylinder block.





81. Install the coolant tube stud bolt.
^ Tighten to 10 Nm (89 lb-in).





82. Install the 2 knock sensors (KS) and the bolts.
^ Tighten to 20 Nm (15 lb-ft).





83. NOTE: Verify that the ignition coil spring is correctly located inside the ignition coil boot and that there is no damage to the tip of the boot.

NOTE: LH shown, RH similar.

Install the 8 ignition coils and the 8 bolts.
^ Apply a light coat of dielectric compound to the inside of the ignition coil boots prior to installation.
^ Tighten to 6 Nm (53 lb-in).





84. Position the electrical harness on the engine assembly and connect the engine wiring harness retainers to the valve cover studs.
85. Connect the CKP sensor electrical connector.





86. Connect the 4 LH ignition coil electrical connectors.





87. Install the LH radio ignition interference capacitor and the stud bolt.
^ Tighten to 10 Nm (89 lb-in).





88. Connect the cylinder head temperature (CHT) sensor electrical connector.





89. Connect the 4 RH ignition coil electrical connectors.





90. Connect the electrical connector retainer to the coolant tube.





91. Connect the 2 engine wiring harness retainers from the RH valve cover studs.





92. Connect the RH VCT solenoid electrical connector.





93. Install the RH radio ignition interference capacitor and the stud bolt.
^ Tighten to 10 Nm (89 lb-in).





94. Connect the RH CMP sensor electrical connector.





95. Install the special tool.





96. Using a suitable floor crane, remove the engine from the engine stand.

97. CAUTION: Do not use metal scrapers, wire brushes, power abrasive discs or other abrasive means to clean the aluminum retainer plate. These tools cause scratches and gouges, which make leak paths. Use a plastic scraping tool to remove all traces of old sealant.

Inspect the crankshaft rear seal retainer plate. Clean the mating surface for the rear seal retainer plate with silicone gasket remover and metal surface prep. Follow the directions on the packaging.

98. NOTE: If not secured within 4 minutes, the sealant must be removed and the sealing area cleaned. To clean the sealing area, use silicone gasket remover and metal surface prep. Follow the directions on the packaging. Allow to dry until there is no sign of wetness, or 4 minutes, whichever is longer. Failure to follow this procedure can cause future oil leakage.

Apply a 4 mm (0.16 inch) bead of silicone gasket and sealant around the crankshaft rear seal retainer sealing surface.





99. Install the crankshaft rear seal retainer plate and loosely install the 6 bolts.





100. Tighten the bolts in the sequence shown.
^ Tighten to 10 Nm (89 lb-in).





101. CAUTION: Do not use metal scrapers, wire brushes, power abrasive discs or other abrasive means to clean the sealing surfaces. These tools cause scratches and gouges, which make leak paths. Use a plastic scraping tool to remove all traces of old sealant.

Inspect the oil pan. Clean the mating surface for the oil pan with silicone gasket remover and metal surface prep. Follow the directions on the packaging.

102. NOTE: If not secured within 4 minutes, the sealant must be removed and the sealing area cleaned. To clean the sealing area, use silicone gasket remover and metal surface prep. Follow the directions on the packaging. Allow to dry until there is no sign of wetness, or 4 minutes, whichever is longer. Failure to follow this procedure can cause future oil leakage.

Apply silicone gasket and sealant at the crankshaft rear seal retainer plate-to-cylinder block sealing surface.





103. NOTE: If not secured within 4 minutes, the sealant must be removed and the sealing area cleaned. To clean the sealing area, use silicone gasket remover and metal surface prep. Follow the directions on the packaging. Allow to dry until there is no sign of wetness, or 4 minutes, whichever is longer. Failure to follow this procedure can cause future oil leakage.

Apply silicone gasket and sealant at the engine front cover-to-cylinder block sealing surface.





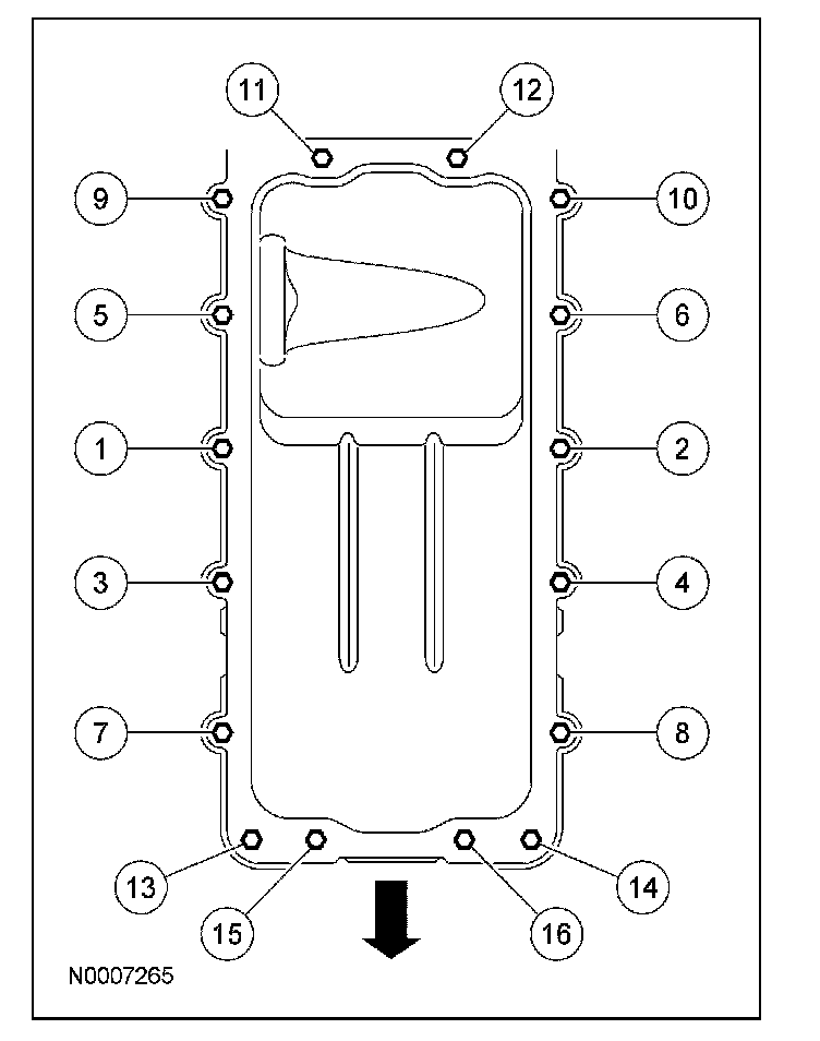
104. Install the oil pan gasket and the oil pan and loosely install the bolts.





105. Tighten the bolts in 3 stages, in the sequence shown.
^ Stage 1: Tighten to 2 Nm (18 lb-in).
^ Stage 2: Tighten to 20 Nm (15 lb-ft).
^ Stage 3: Tighten an additional 60 degrees.





106. NOTE: Lubricate the inner lip of the crankshaft rear seal with clean engine oil.

Using the special tools, install a new crankshaft rear seal.





107. Using the special tools, install a new crankshaft rear oil slinger.





108. Install the flexplate and the 8 bolts in the sequence shown.
^ Tighten to 80 Nm (59 lb-ft).