Operation CHARM: Car repair manuals for everyone.
Manuals through 2025 now available!

Our trusted friends have launched a new website named LEMON, which has newer manuals. It also contains all the CHARM manuals.

LEMON is the spiritual successor to CHARM, I recommend you try it!

Link: lemon-manuals.la or lemon-manuals.org.ua

(Some people have issue connecting. LEMON is investigating. For now, use Firefox or change your DNS server)

Or, hide this message: temporarily or permanently

Part 2

Engine

Special Tool(s) (Part 1):




Special Tool(s) (Part 2):




Material:





Disassembly (Steps 42-82)
42. Remove the engine front cover from the cylinder block.





43. Remove the crankshaft sensor ring from the crankshaft.





44. Position the crankshaft keyway at the 12 o'clock position.





45. NOTE: If the camshaft lobes are not exactly positioned as shown, the crankshaft will require one full additional rotation to 12 o'clock.

The No. 1 cylinder camshaft exhaust lobe must be coming up on the exhaust stroke. Verify by noting the position of the 2 intake camshaft lobes and the exhaust lobe on the No. 1 cylinder.





46. CAUTION: If the components are to be reinstalled, they must be installed in the same positions. Mark the components for installation into their original locations. Failure to follow these instructions may result in engine damage.

Remove only the 3 camshaft roller followers shown in the illustration from the RH cylinder head.





47. NOTE: Do not allow the valve keepers to fall off the valve or the valve may drop into the cylinder. If a valve drops into the cylinder, the cylinder head must be removed.

NOTE: It may be necessary to push the valve down while compressing the spring.

Using the special tool, remove the 3 designated camshaft roller followers in the previous step from the RH cylinder head.





48. CAUTION: If the components are to be reinstalled, they must be installed in the same positions. Mark the components for installation into their original locations. Failure to follow these instructions may result in engine damage.

Remove only the 3 camshaft roller followers shown in the illustration from the LH cylinder head.





49. NOTE: Do not allow the valve keepers to fall off the valve or the valve may drop into the cylinder. If a valve drops into the cylinder, the cylinder head must be removed.

NOTE: It may be necessary to push the valve down while compressing the spring.

Using the special tool, remove the 3 designated camshaft roller followers in the previous step from the LH cylinder head.





50. CAUTION: The crankshaft cannot be moved past the 6 o'clock position once set. Failure to follow these instructions may result in engine damage.

Rotate the crankshaft clockwise and position the crankshaft keyway at the 6 o'clock position.





51. CAUTION: If one or both of the tensioner mounting bolts are loosened or removed, the tensioner-sealing bead must be inspected for seal integrity. If cracks, tears or separation from the tensioner body or permanent compression of the seal bead is observed, install a new tensioner. Failure to follow these instructions may result in engine damage.

Remove the bolts, the LH timing chain tensioner and tensioner arm.





52. CAUTION: if one or both of the tensioner mounting bolts are loosened or removed, the tensioner-sealing bead must be inspected for seal integrity. If cracks, tears or separation from the tensioner body or permanent compression of the seal bead is observed, install a new tensioner. Failure to follow these instructions may result in engine damage.

Remove the bolts, the RH timing chain tensioner and tensioner arm.





53. Remove the RH and LH timing chains and the crankshaft sprocket.
^ Remove the RH timing chain from the camshaft sprocket.
^ Remove the RH timing chain from the crankshaft sprocket.
^ Remove the LH timing chain from the camshaft sprocket.
^ Remove the LH timing chain and crankshaft sprocket.





54. NOTE: RH shown, LH similar.

Remove the LH and RH timing chain guides.
^ Remove the bolts.
^ Remove both timing chain guides.





55. CAUTION: Damage to the variable camshaft timing (VCT) phaser sprocket assembly will occur if mishandled or used as a lifting or leveraging device.

CAUTION: Only use hand tools to remove the variable camshaft timing (VCT) phaser sprocket assembly or damage may occur to the camshaft or VCT phaser sprocket.

Using the special tool, remove the bolt and the RH VCT phaser sprocket assembly.
^ Discard the VCT phaser sprocket bolt.





56. CAUTION: Damage to the variable camshaft timing (VCT) phaser sprocket assembly will occur if mishandled or used as a lifting or leveraging device.

CAUTION: Only use hand tools to remove the variable camshaft timing (VCT) phaser sprocket assembly or damage may occur to the camshaft or VCT phaser sprocket.

Using the special tool, remove the bolt and the LH VCT phaser sprocket assembly.
^ Discard the VCT phaser sprocket bolt.





57. Install the special tool onto the LH cylinder head.





58. Install the special tool onto the RH cylinder head.





59. CAUTION: Remove the front thrust camshaft bearing cap straight upward from the bearing towers, or the bearing cap may be damaged from side loading.

Remove the 2 bolts and the RH cylinder head camshaft front bearing cap.





60. CAUTION: The camshaft bearing caps must be installed in their original locations. Record camshaft bearing cap locations. Failure to follow these instructions may result in engine damage.

Remove the remaining bolts in the sequence shown and remove the RH cylinder head camshaft bearing caps.





61. Clean and inspect the RH camshaft bearing caps.
^ The camshaft front thrust bearing cap contains an oil metering groove. Make sure the groove is free of foreign material.





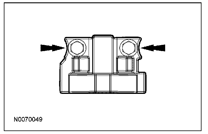
62. Remove the RH camshaft.

63. CAUTION: If the components are to be reinstalled, they must be installed in the same positions. Mark the components for installation into their original locations. Failure to follow these instructions may result in engine damage.

Remove the remaining camshaft roller followers from the RH cylinder head.

64. CAUTION: If the components are to be reinstalled, they must be installed in the same positions. Mark the components for installation into their original locations. Failure to follow these instructions may result in engine damage.

Remove the hydraulic lash adjusters from the RH cylinder head.

65. CAUTION: Remove the front thrust camshaft bearing cap straight upward from the bearing towers, or the bearing cap may be damaged from side loading.

Remove the 2 bolts and the LH cylinder head camshaft front bearing cap.





66. CAUTION: The camshaft bearing caps must be installed in their original locations.

Record camshaft bearing cap locations. Failure to follow these instructions may result in engine damage.
^ Remove the remaining bolts in the sequence shown and remove the LH cylinder head camshaft bearing caps.





67. Clean and inspect the LH camshaft bearing caps.
^ The camshaft front thrust bearing cap contains an oil metering groove. Make sure the groove is free of foreign material.





68. Remove the LH camshaft.

69. CAUTION: If the components are to be reinstalled, they must be installed in the same positions. Mark the components for installation into their original locations. Failure to follow these instructions may result in engine damage.

Remove the remaining camshaft roller followers from the LH cylinder head.

70. CAUTION: If the components are to be reinstalled, they must be installed in the same positions. Mark the components for installation into their original locations. Failure to follow these instructions may result in engine damage.

Remove the hydraulic lash adjusters from the LH cylinder head.

71. CAUTION: The cylinder head must be cool before removing it from the engine. Cylinder head warpage can result if a warm or hot cylinder head is removed.

CAUTION: Place clean shop towels over exposed engine cavities. Carefully remove the towels so foreign material is not dropped into the engine. Failure to follow these instructions may result in engine damage.

CAUTION: The cylinder head bolts must be discarded and new bolts must be installed. They are tighten-to-yield designed and cannot be reused. Failure to follow these instructions may result in engine damage.

CAUTION: Do not use metal scrapers, wire brushes, power abrasive discs or other abrasive means to clean the sealing surfaces. These tools cause scratches and gouges that make leak paths. Use a plastic scraping tool to remove all traces of the head gasket.

CAUTION: Aluminum surfaces are soft and can be scratched easily. Never place the cylinder head gasket surface, unprotected, on a bench surface.

NOTE: RH shown, LH similar.

Remove the bolts and the cylinder head.
^ Discard the cylinder head gasket.
^ Discard the cylinder head bolts.





72. CAUTION: Do not use metal scrapers, wire brushes, power abrasive discs or other abrasive means to clean the sealing surfaces. These tools cause scratches and gouges that make leak paths. Use a plastic scraping tool to remove all traces of the head gasket.

NOTE: If there is no residual gasket material present, metal surface prep can be used to clean and prepare the surfaces.

Clean the cylinder head-to-cylinder block mating surfaces of both the cylinder head and the cylinder block.
1 Remove any large deposits of silicone or gasket material with a plastic scraper.
2 Apply silicone gasket remover, following package directions, and allow to set for several minutes.
3 Remove the silicone gasket remover with a plastic scraper. A second application of silicone gasket remover may be required if residual traces of silicone or gasket material remain.
4 Apply metal surface prep, following package directions, to remove any remaining traces of oil or coolant, and to prepare the surfaces to bond with the new gasket. Do not attempt to make the metal shiny. Some staining of the metal surfaces is normal.

73. NOTE: Make sure all cylinder head surfaces are clear of any gasket material, RTV, oil and coolant. The cylinder head surface must be clean and dry before running a flatness check.

NOTE: Use a straightedge that is calibrated by the manufacturer to be flat within 0.005 mm (0.0002 inch) per running foot length. For example, if the straightedge is 61 cm (24 inch) long, the machined edge must be flat within 0.010 mm (0.0004 inch) from end to end.

NOTE: LH shown, RH similar.

Support the cylinder head on a bench with the head gasket side up. Inspect all areas of the deck face with a straightedge, paying particular attention to the oil pressure feed area. The cylinder head must not have depressions deeper than 0.0254 mm (0.001 inch) across a 38.1 mm (1.5 inch) square area, or scratches longer than 0.0254 mm (0.001 inch).





74. Remove the bolts, the oil pump screen and pickup tube and the spacer.





75. Remove the 3 bolts and the oil pump.





76. Before removing the pistons, inspect the top of the cylinder bores. If necessary, remove the ridge or carbon deposits from each cylinder using an abrasive pad or equivalent, following the manufacturer instructions.

77. NOTE: Verify that the connecting rods and rod caps have orientation numbers cast into them. If not, number the connecting rods and rod caps for correct orientation.

Remove the bolts and the connecting rod caps. Discard the bolts.





78. CAUTION: Do not scratch the cylinder walls or crankshaft journals with the connecting rod or engine damage may occur.

Use the special tool to push the piston through the top of the cylinder block.





79. Disassemble the 8 pistons.
80. Remove the fasteners.
1 Remove and discard the cross-mounted main cap bolts.
2 Remove the dowels.
3 Remove and discard the main bearing cap bolts.





81. Remove the 5 main bearing caps, the lower crankshaft main bearings and the lower thrust washer.





82. Remove the crankshaft, the upper crankshaft main bearings and the upper thrust washers from the cylinder block.