Operation CHARM: Car repair manuals for everyone.
Manuals through 2025 now available!

Our trusted friends have launched a new website named LEMON, which has newer manuals. It also contains all the CHARM manuals.

LEMON is the spiritual successor to CHARM, I recommend you try it!

Link: lemon-manuals.la or lemon-manuals.org.ua

(Some people have issue connecting. LEMON is investigating. For now, use Firefox or change your DNS server)

Or, hide this message: temporarily or permanently

Part 2

Transaxle

Disassembly (Steps 35-69)
35. Using a suitable tool, remove the transmission fluid pan.
^ Remove the bolts.
^ Using a suitable tool, remove the transmission fluid pan.





36. Clean the silicone from the transmission fluid pan and transaxle case surfaces thoroughly with metal surface prep.
37. Disconnect the transmission fluid temperature (TFT) sensor.





38. Remove the transmission fluid filter.





39. NOTE: It is necessary to note the location of the main control wire harness connectors so they can be connected in the same positions. Connector color letters are cast into the solenoid body.

Remove the ground wire bolt, disconnect the electrical connectors and remove the wire harness.
1 Solenoid SSC, Color N (Neutral).
2 Solenoid SSE, Color G (Green).
3 Solenoid SSD, Color L (Blue).
4 Solenoid PCA, Color B (Black).
5 Solenoid SSA, Color N (Neutral).
6 Solenoid SSB, Color B (Black).





40. NOTE: Note the locations of the longer bolts.

Remove the 13 main control valve body bolts.





41. NOTE: Squeeze the tabs on the side of the electrical connector.

Remove the transaxle internal harness electrical connector.





42. NOTE: Each accumulator piston has 2 springs inside of them, totaling 4 springs. All 4 springs are different sizes. The accumulator piston bore and accumulator pistons are a match as to depth. Some of the accumulator piston may have steps. Take note of the size, depth and location of the accumulator pistons and the spring sizes to aid assembly.

Remove the accumulator pistons and springs.





43. Remove the manual lever shaft roll pin.





44. Remove the manual lever shaft.





45. Remove the O-ring seals from the manual lever shaft.





46. Remove the manual control lever detent assembly.





47. CAUTION: The intermediate/overdrive band servo cover plate is spring loaded. The bolts should be removed evenly until plate is unloaded, then remove the bolts. Failure to do so can result in bolt thread damage.

Remove the 3 intermediate/overdrive piston servo cover bolts and the servo cover.





48. Remove the O-ring seal.





49. Remove the intermediate/overdrive servo piston.





50. Remove the intermediate/overdrive servo piston return spring.





51. Rotate the transaxle 180 degrees.
52. Remove the bolts and separate the converter housing from the transaxle case.





53. Remove the differential assembly.





54. Remove the parking pawl assembly cover.
^ Remove the bolts and the parking pawl assembly cover.





55. Remove the parking pawl abutment.
1 Unclip the spring.
2 Remove the pin.
3 Remove the lever.
4 Remove the parking pawl abutment.





56. Remove the spring.





57. Remove the transfer shaft gears.





58. Using the special tool, lock the final drive input gear.





59. Rotate the transaxle 180 degrees.

60. NOTE: Release the locking sleeve away from the final drive input gear bearing retainer nut.

Using the special tools, remove the final drive input gear bearing retainer nut.





61. Remove the special tools.
62. Rotate the transaxle 180 degrees.
63. Remove the special tool.





64. CAUTION: Hold the final drive input gear while removing the bearing to prevent it from falling out of the transaxle case or damage to the input gear can occur.

Rotate the transaxle 180 degrees.
65. Remove the final drive input gear bearing by lightly tapping on the end of the gear.





66. Remove and discard the collapsible spacer.





67. WARNING: Always wear eye protection when servicing a vehicle. Failure to follow this instruction may result in serious personal injury.

Using a suitable chisel, remove the final drive input gear bearing.





68. Using the special tools, remove the final drive input gear bearing inner race.





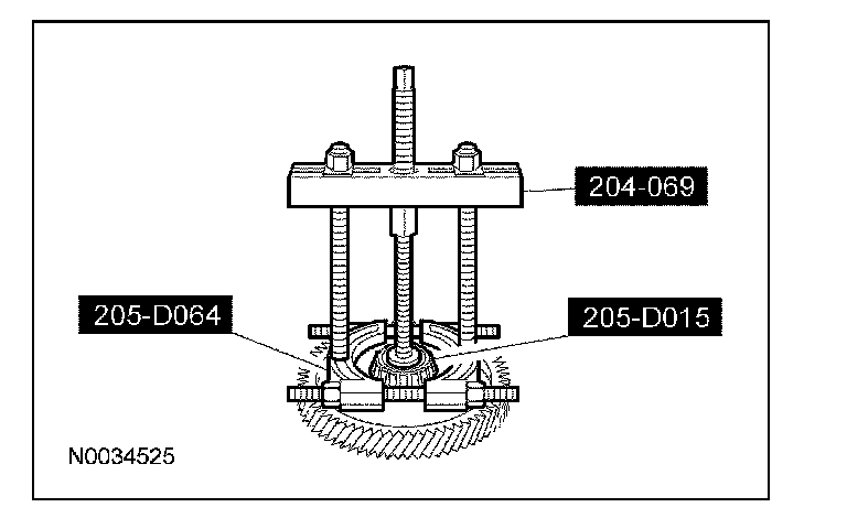
69. Clean the converter housing and transaxle case surfaces thoroughly with metal surface prep.