Operation CHARM: Car repair manuals for everyone.
Manuals through 2025 now available!

Our trusted friends have launched a new website named LEMON, which has newer manuals. It also contains all the CHARM manuals.

LEMON is the spiritual successor to CHARM, I recommend you try it!

Link: lemon-manuals.la or lemon-manuals.org.ua

(Some people have issue connecting. LEMON is investigating. For now, use Firefox or change your DNS server)

Or, hide this message: temporarily or permanently

Shift Cable: Service and Repair

Selector Lever Cable

Selector Lever Cable - Partial Zero Emissions Vehicle (PZEV) (Part 1):




Selector Lever Cable - Partial Zero Emissions Vehicle (PZEV) (Part 2):




Selector Lever Cable - Non-PZEV (Part 1):




Selector Lever Cable - Non-PZEV (Part 2):





Removal

All vehicles

1. With the vehicle in NEUTRAL, position it on a hoist. For additional information, refer to Maintenance/Service and Repair.
2. Remove the battery. For additional information, refer to Battery.
3. Remove the 3 battery tray nuts. Pull the battery tray up, disconnect the wiring harness fasteners from the battery tray and remove the battery tray.





4. NOTE: Partial zero emissions vehicle (PZEV) shown, non-PZEV similar.

Disconnect the mass air flow (MAF) sensor electrical connector.





5. NOTE: Non-PZEV shown, PZEV similar.

Disconnect the crankcase ventilation hose and disconnect the brake booster vacuum hose.





Partial zero emissions vehicle (PZEV)

6. Loosen the air cleaner inlet hose clamp.





Non-PZEV

7. Remove the 2 bolts.





All vehicles

8. Loosen the clamp, pull the air cleaner assembly straight up and remove the air cleaner assembly.





9. CAUTION: Excessive bending of the flexible exhaust pipe may cause damage resulting in failure. Support the flexible exhaust pipe with a support wrap or suitable splint.

Support the flexible exhaust pipe, using a suitable wrap.





10. Disconnect the front exhaust pipe and detach the support isolators.
^ Discard the gasket.





11. Disconnect the center exhaust hanger and support the exhaust with wire.





12. Remove the 8 fasteners and the exhaust heat shield.





13. Disconnect the selector lever cable from the retainer on the unibody and the retainer on the transaxle.





14. Disconnect the selector lever cable from the selector lever cable bracket and manual control lever.
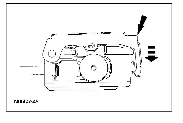
1 Disconnect the selector lever cable end from the manual control lever.
2 Depress the tabs on the selector lever cable and remove the selector lever cable from the selector lever cable bracket.
- Position the selector lever cable aside.





15. Remove the transmission fluid filler tube bolt from the selector lever cable bracket.





16. Remove the 2 selector lever cable bracket bolts and the selector lever cable bracket.





17. Remove the heater core and evaporator core housing. For additional information, refer to Heating and Air Conditioning.
18. Position the carpet away from the selector lever cable grommet.





19. Position the insulation off of the selector lever cable grommet.





20. Remove the 2 selector lever cable grommet nuts.





21. Remove the selector lever cable.
^ Pull the selector lever cable through the floor panel.

Installation

All vehicles

1. Position the selector lever cable in place, install the grommet on the floor panel and install the 2 nuts.
^ Tighten to 9 Nm (80 inch lbs.).





2. Position the insulation in place over the selector lever cable grommet.





3. Position the carpet in place.





4. Install the heater core and evaporator core housing. For additional information, refer to Heating and Air Conditioning.
5. Position the selector lever cable bracket in place and install the 2 bolts.
^ Tighten to 25 Nm (18 ft. lbs.).





6. Install the transmission fluid filler tube bolt.
^ Tighten to 8 Nm (71 inch lbs.).





7. Move the selector lever to the DRIVE position.





8. Move the manual control lever to the DRIVE position.





9. Unlock the selector lever cable end. Make sure that the selector lever cable end moves freely.





10. NOTE: When installing the selector lever cable, make sure that the selector lever cable locking tabs are locked in place and the selector lever cable end is snapped onto the ball stud. Press the selector lever cable into the selector lever cable bracket and listen for the selector lever cable to click in place. Pull back on the selector lever cable to make sure that it is locked into the selector lever cable bracket. Also make sure that the selector lever cable end is correctly installed onto the ball stud. Pull back on the selector lever cable end to make sure that the selector lever cable end is correctly installed.

Connect the selector lever cable end to the manual control lever.
1 Connect the selector lever cable to the selector lever cable bracket.
2 Connect the selector lever cable end to the manual control lever.





11. Press the lock tab down to secure the cable end from moving.





12. Install the selector lever cable in the retainer on the unibody and in the retainer on the transaxle.





13. Install the exhaust heat shield and the 8 fasteners.





14. Connect the center exhaust hanger and remove the support wire.





15. NOTE: Install a new exhaust flange gasket.

Attach the exhaust pipe support insulators and connect the front exhaust pipe.
^ Tighten to 47 Nm (35 ft. lbs.).





16. Remove the support wrap.





17. Position the air cleaner in place and tighten the air cleaner outlet pipe clamp.
^ Tighten to 4 Nm (35 inch lbs.).





18. NOTE: PZEV shown, non-PZEV similar.

Connect the crankcase ventilation hose and connect the brake booster vacuum hose.





PZEV
19. Tighten the air cleaner inlet hose clamp.
^ Tighten to 4 Nm (35 inch lbs.).





Non-PZEV

20. Install the 2 bolts.
^ Tighten to 9 Nm (80 inch lbs.).





All vehicles

21. NOTE: PZEV shown, non-PZEV similar.

Connect the MAF sensor electrical connector.





22. Position the battery tray in place and install the 4 wiring harness retainers on the battery tray.





23. Position the battery tray on the studs and install the 3 battery tray nuts.
^ Tighten to 12 Nm (9 ft. lbs.).





24. NOTE: When the battery has been disconnected and reconnected, some abnormal drive symptoms may occur while the vehicle relearns its adaptive strategy. The vehicle may need to be driven to relearn the strategy.

Install the battery. For additional information, refer to Battery.