Valve Spring
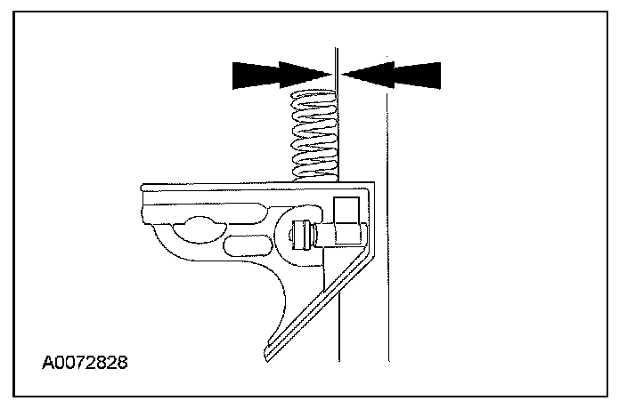
Valve Spring Installed LengthNOTE: Refer to the appropriate specification chart.
1. Measure the installed length of each valve spring.
Valve Spring Free Length
NOTE: Refer to the appropriate specification chart.
1. Measure the free length of each valve spring.
Valve Spring Squareness
1. Measure the out-of-square on each valve spring.
^ Turn the valve spring and observe the space between the top of the valve spring and the square.
Valve Spring Strength
Special Tool(s):
NOTE: Refer to the appropriate specification chart.
1. Use the special tool to check the valve spring for correct strength at the specified valve spring length.