Operation CHARM: Car repair manuals for everyone.
Manuals through 2025 now available!

Our trusted friends have launched a new website named LEMON, which has newer manuals. It also contains all the CHARM manuals.

LEMON is the spiritual successor to CHARM, I recommend you try it!

Link: lemon-manuals.la or lemon-manuals.org.ua

(Some people have issue connecting. LEMON is investigating. For now, use Firefox or change your DNS server)

Or, hide this message: temporarily or permanently

Pinion Flange: Service and Repair

Drive Pinion Seal

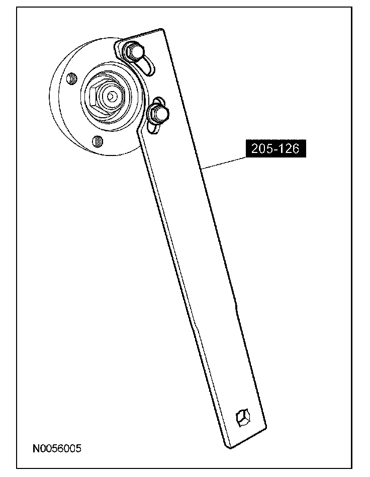
Special Tool(s):




Material:








Removal
1. With the vehicle in NEUTRAL, position it on a hoist. For additional information, refer to Maintenance/Service and Repair.
2. Remove and discard the 4 rear driveshaft U-joint flange bolts.
^ Support the driveshaft.





3. Using the special tool, hold the pinion flange and remove and discard the nut.





4. Index-mark the location of the pinion to the yoke.





5. Using the special tool, remove the pinion flange.





6. Using the special tools, remove and discard the drive pinion seal.





Installation

1. NOTE: Make sure that the mating surface is clean before installing the new seal.

Using the special tool, install the drive pinion seal.





2. NOTE: Lubricate the pinion flange splines with grease.

Line up the index marks and position the pinion flange.





3. Using the special tool, install the new pinion nut.
^ Tighten to 244 Nm (180 lb-ft).





4. Line up the index marks and install the rear driveshaft U-joint flange with 4 new bolts.
^ Tighten to 70 Nm (52 lb-ft).