Operation CHARM: Car repair manuals for everyone.
Manuals through 2025 now available!

Our trusted friends have launched a new website named LEMON, which has newer manuals. It also contains all the CHARM manuals.

LEMON is the spiritual successor to CHARM, I recommend you try it!

Link: lemon-manuals.la or lemon-manuals.org.ua

(Some people have issue connecting. LEMON is investigating. For now, use Firefox or change your DNS server)

Or, hide this message: temporarily or permanently

Quick Connect Coupling

QUICK CONNECT COUPLING

Disconnect - Type I

WARNING:
- Do not smoke, carry lighted tobacco or have an open flame of any type when working on or near any fuel-related component. Highly flammable mixtures are always present and may be ignited. Failure to follow these instructions may result in serious personal injury.
- Do not carry personal electronic devices such as cell phones, pagers or audio equipment of any type when working on or near any fuel-related component. Highly flammable mixtures are always present and may be ignited. Failure to follow these instructions may result in serious personal injury.
- Before working on or disconnecting any of the fuel tubes or fuel system components, relieve the fuel system pressure to prevent accidental spraying of fuel. Fuel in the fuel system remains under high pressure, even when the engine is not running. Failure to follow this instruction may result in serious personal injury.


1. If servicing a liquid fuel tube quick connect coupling, release the fuel system pressure.

2. NOTE: When reusing liquid or vapor tube quick connect couplings, make sure to use compressed air to remove any foreign material from the retaining clip area before disconnecting from the tube.

Depress the retainer clip and disconnect the quick connect coupling from the tube.







Connect - Type I

1. NOTE:
- Apply clean engine oil to the end of the tube and quick connect coupling O-ring seals.
- Make sure the retainer clip is fully seated and locked onto the tube by pulling on the quick connect coupling.

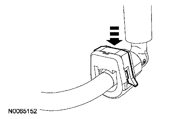
Install the quick connect coupling onto the tube until fully seated.







Disconnect - Type II

WARNING:
- Do not smoke, carry lighted tobacco or have an open flame of any type when working on or near any fuel-related component. Highly flammable mixtures are always present and may be ignited. Failure to follow these instructions may result in serious personal injury.
- Do not carry personal electronic devices such as cell phones, pagers or audio equipment of any type when working on or near any fuel-related component. Highly flammable mixtures are always present and may be ignited. Failure to follow these instructions may result in serious personal injury.
- Before working on or disconnecting any of the fuel tubes or fuel system components, relieve the fuel system pressure to prevent accidental spraying of fuel. Fuel in the fuel system remains under high pressure, even when the engine is not running. Failure to follow this instruction may result in serious personal injury.


1. If servicing a liquid fuel tube quick connect coupling, release the fuel system pressure.

2. NOTE: When reusing liquid or vapor tube quick connect couplings, make sure to use compressed air to remove any foreign material from the retaining clip area before disconnecting from the tube. Apply clean engine oil to the end of the tube before connecting the quick connect coupling.

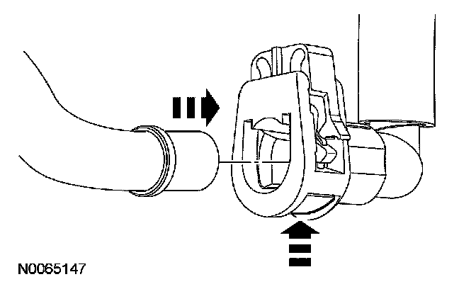
Spread the legs of the retainer clip and pull it to the outward position in the quick connect coupling.







3. Depress the retainer clip and disconnect the quick connect coupling from the tube.







Connect - Type II

1. NOTE: Apply clean engine oil to the end of the tube and quick connect coupling O-ring seals.

Install the quick connect coupling onto the tube until fully seated.







2. NOTE: Make sure the retainer clip is fully seated and locked onto the tube by pulling on the quick connect coupling.

Press the retainer clip into the quick connect coupling body until flush and the legs are locked in place.







Disconnect - Type III

WARNING:
- Do not smoke, carry lighted tobacco or have an open flame of any type when working on or near any fuel-related component. Highly flammable mixtures are always present and may be ignited. Failure to follow these instructions may result in serious personal injury.
- Do not carry personal electronic devices such as cell phones, pagers or audio equipment of any type when working on or near any fuel-related component. Highly flammable mixtures are always present and may be ignited. Failure to follow these instructions may result in serious personal injury.
- Before working on or disconnecting any of the fuel tubes or fuel system components, relieve the fuel system pressure to prevent accidental spraying of fuel. Fuel in the fuel system remains under high pressure, even when the engine is not running. Failure to follow this instruction may result in serious personal injury.


CAUTION:
- When reusing liquid or vapor tube connectors, make sure to use compressed air to remove any foreign material from the connector retaining clip area before separating from the tube or damage to the tube or connector retaining clip can occur. Apply clean engine oil to the end of the tube before inserting the tube into the connector.
- Fuel injection equipment is manufactured to very precise tolerances and fine clearances. It is essential that absolute cleanliness is observed when working with these components or component damage can occur. Always plug or cap any open orifice or tube.
- Do not use any tools, The use of tools may cause a deformity in the clip components which may cause fuel leaks.


1. If servicing a liquid fuel tube quick connect coupling, release the fuel system pressure.
2. Squeeze the quick connect coupling retainer locking tabs to release the locking mechanism.







3. Push the locking mechanism outward to release the tube.







4. Remove the quick connect coupling from the tube.







Connect - Type III

1. NOTE: Make sure the fuel tube clicks into place when installing the quick connect coupling onto the tube.

Install the quick connect coupling onto the tube.







2. Depress the quick connect coupling locking mechanism into the locked position.







3. Visually inspect and verify that the locking mechanism is flush with the quick connect coupling housing and that the locking tabs are securely fastened.







4. Pull on the quick connect coupling and the tube to make sure it is securely fastened.