Operation CHARM: Car repair manuals for everyone.
Manuals through 2025 now available!

Our trusted friends have launched a new website named LEMON, which has newer manuals. It also contains all the CHARM manuals.

LEMON is the spiritual successor to CHARM, I recommend you try it!

Link: lemon-manuals.la or lemon-manuals.org.ua

(Some people have issue connecting. LEMON is investigating. For now, use Firefox or change your DNS server)

Or, hide this message: temporarily or permanently

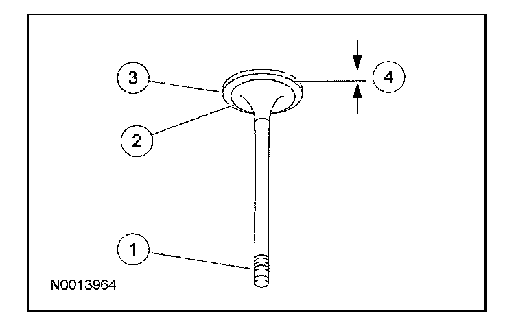
Valve Stem

Valve Stem Diameter

NOTE: Refer to the appropriate specification.

1. Measure the diameter of each intake and exhaust valve stem at the points shown. Verify the diameter is within specification.





Valve Inspection
1. Inspect the following valve areas:
1. The end of the stem for grooves or scoring.
2. The valve face and the edge for pits, grooves or scores.
3. The valve head for signs of burning, erosion, warpage and cracking.
4. The valve margin for wear.





Valve Guide Inner Diameter

NOTE: Refer to the appropriate specification.

1. NOTE: Valve guides tend to wear in an hourglass pattern. The ball gauge can be inserted into the combustion chamber side of the valve guide if necessary.

Use a ball gauge to determine the inner diameter of the valve guides in 2 directions at the top, middle and bottom of the valve guide.





2. Measure the ball gauge with a micrometer.





3. If the valve guide is not within specifications, install a new cylinder head assembly.

Valve Stem to Valve Guide Clearance

Special Tool(s)





NOTE: Refer to the appropriate specification.

NOTE: The valve stem diameter must be within specifications before checking valve stem-to-valve guide clearance.

1. NOTE: If necessary, use a magnetic base.

Install a Valve Guide Clearance Gauge on the valve stem and install a Dial Indicator Gauge with Holding Fixture. Lower the valve until the clearance gauge contacts the upper surface of the valve guide.





2. Move the clearance gauge toward the indicator and zero the indicator. Move the clearance gauge away from the indicator and note the reading. The reading will be DOUBLE the valve stem-to-valve guide clearance.