Operation CHARM: Car repair manuals for everyone.
Manuals through 2025 now available!

Our trusted friends have launched a new website named LEMON, which has newer manuals. It also contains all the CHARM manuals.

LEMON is the spiritual successor to CHARM, I recommend you try it!

Link: lemon-manuals.la or lemon-manuals.org.ua

(Some people have issue connecting. LEMON is investigating. For now, use Firefox or change your DNS server)

Or, hide this message: temporarily or permanently

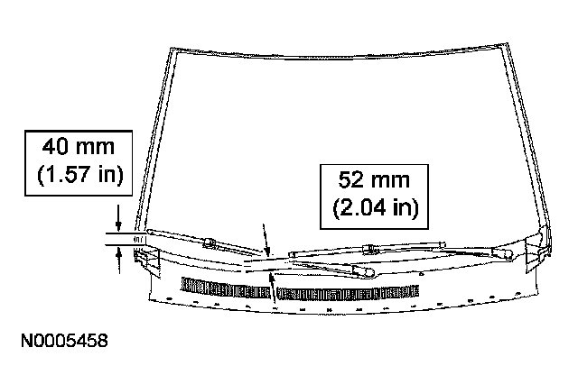
Wiper Arm: Adjustments

WIPER BLADE AND PIVOT ARM ADJUSTMENT - WINDSHIELD

1. Cycle and park the windshield wipers.
2. Verify that the RH and LH wiper blades are located at the specified position.







3. NOTE: Make sure there is no mechanical binding in the linkage preventing the wiper arms from returning to the full PARK position.

If not within specification, remove the wiper pivot arms and reposition to the correct location.