Operation CHARM: Car repair manuals for everyone.
Manuals through 2025 now available!

Our trusted friends have launched a new website named LEMON, which has newer manuals. It also contains all the CHARM manuals.

LEMON is the spiritual successor to CHARM, I recommend you try it!

Link: lemon-manuals.la or lemon-manuals.org.ua

(Some people have issue connecting. LEMON is investigating. For now, use Firefox or change your DNS server)

Or, hide this message: temporarily or permanently

Compressor Clutch Coil: Service and Repair




Clutch and Clutch Field Coil













Removal

1. Remove the A/C compressor. For additional information, refer to Air Conditioning (A/C) Compressor Service and Repair.

2. Remove the A/C clutch disc and hub bolt.

1. Using the Compressor Clutch Holding Tool, hold the A/C clutch disc and hub.

2. Remove the A/C clutch disc and hub bolt.





3. Remove the A/C clutch disc and hub.

4. Remove the A/C compressor pulley snap ring.

5. NOTICE: Do not use air tools. Damage to the Air Conditioning (A/C) clutch pulley or A/C compressor may result.

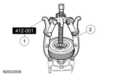
Using the Compressor Pulley Remover, remove the A/C compressor pulley.

1. Install the Compressor Pulley Remover.

2. Remove the A/C compressor pulley.





6. Remove the A/C clutch field coil snap ring.

7. Remove the A/C clutch field coil electrical connector screw.

8. Remove the A/C clutch field coil.

Installation

NOTE: A new A/C compressor may come equipped with a clutch and pulley. If not, the A/C clutch components should be reused unless obvious signs of damage are found. If excessive grooving is found on the friction surface, a new A/C clutch disc and hub and a new A/C compressor pulley must be installed together. Otherwise, each component can be installed individually where needed.

1. Visually inspect the A/C clutch disc and hub, A/C compressor pulley and A/C clutch field coil for damage.
- Inspect for physical damage, including cracked or melted components or discoloration due to excessive heat.

- Inspect for excessive wear, including grooving in the A/C clutch disc and hub or A/C compressor pulley that is more than fingernail depth.

- Inspect for roughness in the A/C compressor pulley bearing.

2. Clean the A/C clutch field coil and pulley mounting surfaces.

3. Install the A/C clutch field coil.

4. Install the A/C clutch field coil electrical connector screw.

5. Install the A/C clutch field coil snap ring.

6. NOTE: The A/C compressor pulley is a tight fit on the A/C compressor. It must be correctly aligned during installation.

Install the A/C compressor pulley.

7. Install the A/C compressor pulley snap ring with the bevel side out.

8. Place one nominal thickness A/C clutch disc and hub spacer inside the clutch hub spline opening.

9. Install the A/C clutch disc and hub.

10. Using the Compressor Clutch Holding Tool, install the A/C compressor clutch disc and hub bolt.

1. Hold the A/C clutch disc and hub with the Compressor Clutch Holding Tool.

2. Tighten the bolt to 14 Nm (124 lb-in).





11. Measure and adjust the clutch air gap by removing or adding A/C clutch disc and hub spacers.





12. Install the A/C compressor. For additional information, refer to Air Conditioning (A/C) Compressor Service and Repair.