Operation CHARM: Car repair manuals for everyone.
Manuals through 2025 now available!

Our trusted friends have launched a new website named LEMON, which has newer manuals. It also contains all the CHARM manuals.

LEMON is the spiritual successor to CHARM, I recommend you try it!

Link: lemon-manuals.la or lemon-manuals.org.ua

(Some people have issue connecting. LEMON is investigating. For now, use Firefox or change your DNS server)

Or, hide this message: temporarily or permanently

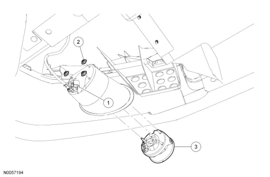
Fog/Driving Lamp: Service and Repair




Fog Lamp

Expedition










Navigator









Removal and Installation

NOTE: Make sure the headlamp switch and the ignition switch are in the OFF position.

Expedition

1. Remove the 3 nuts and the fog lamp.
- Disconnect the electrical connector.

Navigator

2. Remove the 4 bolts and the fog lamp.
- Disconnect the electrical connector.

- To install, tighten to 5 Nm (44 lb-in).

All vehicles

3. To install, reverse the removal procedure.
- If necessary, adjust the fog lamps. For additional information, refer to Front Fog Lamp Adjustment Adjustments.