Operation CHARM: Car repair manuals for everyone.
Manuals through 2025 now available!

Our trusted friends have launched a new website named LEMON, which has newer manuals. It also contains all the CHARM manuals.

LEMON is the spiritual successor to CHARM, I recommend you try it!

Link: lemon-manuals.la or lemon-manuals.org.ua

(Some people have issue connecting. LEMON is investigating. For now, use Firefox or change your DNS server)

Or, hide this message: temporarily or permanently

System Specifications




General Specifications (Part 1):





General Specifications (Part 2):





General Specifications (Part 3):




a The time required for the plunger to leak down 1.6 mm (0.062 in) of travel with 222 N force and leak-down fluid in the lash adjuster.

b The pin bore and crank bearing bore must be parallel and in the same vertical plane within the specified total difference when measured at the ends of a 203 mm bar, 105.5 mm on each side of
rod centerline.

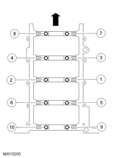
Main Bearing Cap





Install the 10 vertical main bearing cap fasteners and tighten in 2 stages, in the sequence shown.
- Stage 1: Tighten to 40 Nm (30 lb-ft)
- Stage 2: Tighten an additional 90 degrees





Install the 10 side bolts and tighten them in 2 stages, in the sequence shown.
- Stage 1: Tighten to 30 Nm (22 lb-ft)
- Stage 2: Tighten an additional 90 degrees

Rod Bearing Cap





Tighten the 16 bolts in 2 stages, in the sequence shown.
- Stage 1: Tighten to 43 Nm (32 lb-ft)
- Stage 2: Tighten an additional 105 degrees

Crankshaft Pulley
Using a new crankshaft pulley bolt, install the bolt and washer and tighten the bolt in 4 stages.
- Stage 1: Tighten to 90 Nm (66 lb-ft)
- Stage 2: Loosen 360 degrees
- Stage 3: Tighten to 50 Nm (37 lb-ft)
- Stage 4: Tighten an additional 90 degrees