Operation CHARM: Car repair manuals for everyone.
Manuals through 2025 now available!

Our trusted friends have launched a new website named LEMON, which has newer manuals. It also contains all the CHARM manuals.

LEMON is the spiritual successor to CHARM, I recommend you try it!

Link: lemon-manuals.la or lemon-manuals.org.ua

(Some people have issue connecting. LEMON is investigating. For now, use Firefox or change your DNS server)

Or, hide this message: temporarily or permanently

Part 2

ENGINE CONTROL COMPONENTS


Exhaust Gas Temperature (EGT) Sensor

The EGT sensor is a resistance temperature detector (RTD) type sensor. The EGT sensor is an input to the PCM and measures the temperature of the exhaust gas passing through the exhaust system. The electrical resistance of the sensor increases as the temperature increases, and resistance decreases as the temperature decreases. The varying resistance changes the voltage drop across the sensor terminals and provides electrical signals to the PCM corresponding to temperature.

The PCM uses the input from 3 EGT sensors to monitor the exhaust gas temperature. The first sensor is located before the OC. The second sensor is located between the OC and diesel particulate filter. The third sensor is located after the diesel particulate filter.


Exhaust Gas Temperature (EGT) Sensor:






Exhaust Pressure (EP) Sensor

The EP sensor is a variable capacitor sensor that is supplied a 5-volt reference signal by the PCM and returns a linear analog voltage signal that indicates pressure. The sensor voltage input to the PCM increases as the pressure increases. The EP sensor, located at the left rear of the engine, measures the pressure in the exhaust manifold. The sensor feedback signal is used for variable turbocharger geometry and EGR valve control.

An open or short in the EP sensor wiring results in an out-of-range high or low voltage, at the PCM.

The output of the sensor ranges from 0.175 volt at 28.6 kPa (4.15 psi) to 4.825 volts at 616.5 kPa (89.42 psi). At an atmospheric pressure of 101 kPa (14.65 psi) the output of the sensor is between 0.67 and 0.82 volt.


Exhaust Pressure (EP) Sensor:






Fan Speed Sensor (FSS)

The FSS is a Hall effect sensor integral to the cooling fan. The PCM monitors the sensor input and controls the cooling fan speed based upon the engine coolant temperature (ECT), the transmission fluid temperature, and the intake air temperature (IAT) requirements. When an increase in cooling fan speed for vehicle cooling is requested, the PCM monitors the FSS signal and outputs the required pulse width modulation (PWM) signal to a fluid port valve within the cooling fan.

Fuel Cooler

The fuel cooler is a liquid-to-liquid heat exchanger. It is located on the top, left side of the engine and it transfers heat contained in the fuel to the coolant. Refer to the Fuel System. [1][2]Fuel System


Fuel Cooler:






Fuel Cooler Pump

The fuel cooler pump is mounted to the cooling fan shroud on the driver's bottom side and it circulates the coolant which cools the fuel in the fuel cooler system. The PCM commands the fuel cooler pump on by grounding the pump circuit when the fuel temperature exceeds the calibrated threshold. Refer to the Fuel System, Fuel Cooling System. [1][2]Fuel System


Fuel Cooler Pump:






Fuel Conditioning Module

The internal components of the fuel conditioning module include the following:

- electric fuel pump
- 10 micron fuel filter and water separator
- water in fuel (WIF) sensor
- recirculation thermostat

The electric fuel pump draws fuel from the fuel tank through the 1.27 cm (1/2 inch) fuel supply line. When the fuel enters the fuel conditioning module it flows through the 10 micron fuel filter which separates particles and removes water from the fuel. The separated water collects at the bottom of the pump. If enough water is collected, the WIF sensor detects it and the PCM turns the WIF indicator ON. The conditioned fuel is then delivered to the secondary fuel filter.

The unused fuel returns from the secondary fuel filter through the 0.95 cm (3/8 inch) fuel return port and enters the unfiltered side of the fuel conditioning module Depending on the fuel temperature returning from the secondary fuel filter, the recirculation thermostat directs the fuel to the fuel tank or through the fuel conditioning module back to the inlet of the primary filter.


Fuel Conditioning Module:






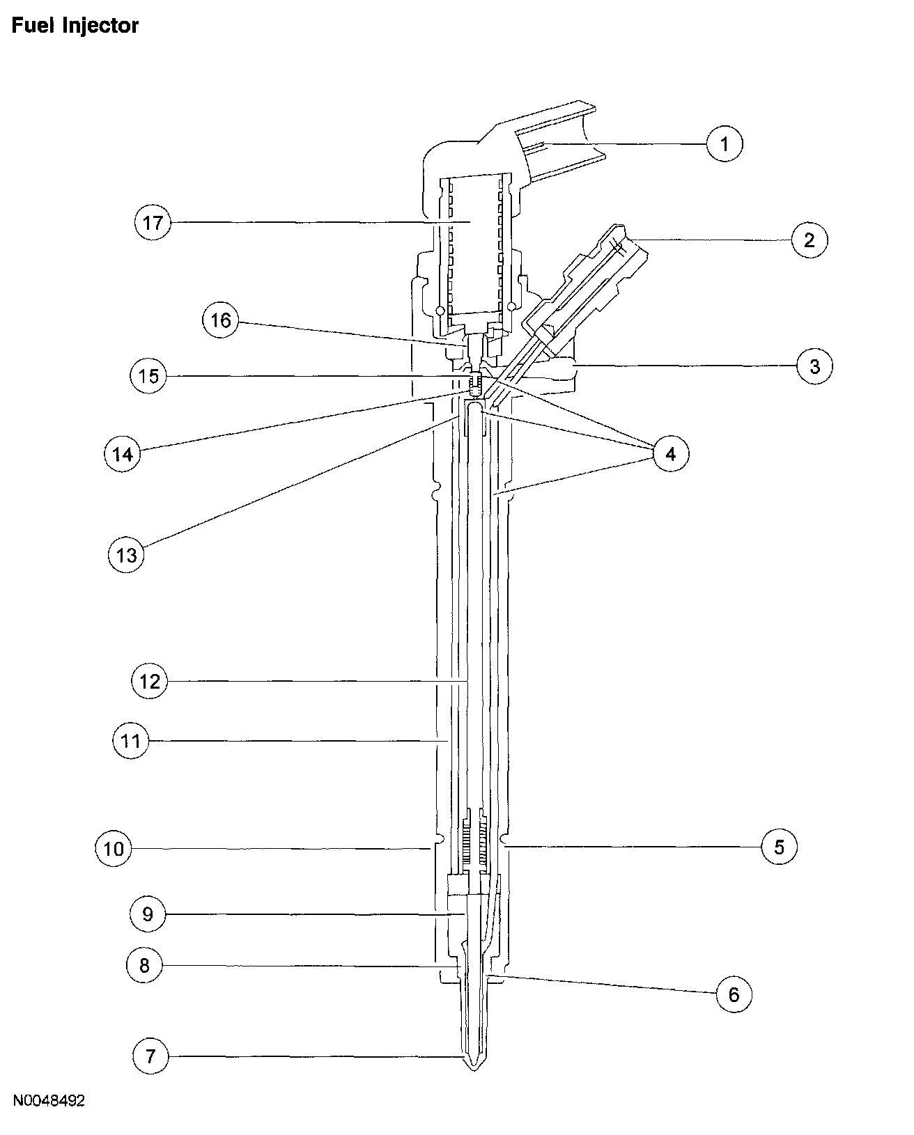
Fuel Injectors

The fuel injectors are connected to the high pressure fuel rail and deliver a calibrated amount of fuel directly into the combustion chamber. The injectors on and off time is controlled by the piezo actuator device which allows extreme precision during the injection cycle. The piezo actuator is commanded on by the PCM during the main injection stage for approximately 0-400 micro seconds. For additional information on fuel injection operation, refer to the Fuel System. [1][2]Fuel System


Fuel Injector (Part 1):






Fuel Injector (Part 2):






O-ring and Combustion Gasket

The fuel injector has 1 replaceable O-ring on the outside of the body, and 1 replaceable steel combustion gasket on the tip of the injector.

Piezo Actuator

The piezo actuator consists of a series of small disks. When the piezo actuator is electrically energized, it causes the disks to deform which results in an expansion. The expansion generates a longitudinal motion which pushes downward against the valve piston. The piezo actuator returns to its non-energized state by fuel and spring pressure during engine operation, and by the spring pressure from the fuel injector valve return spring when the engine is shut down.

Valve Piston

The valve piston is used to transfer the longitudinal movement from the piezo actuator to the fuel injector valve. It also acts as a seal preventing fuel from entering the piezo actuator device.

Fuel Injector Valve

The fuel injector valve is a hydraulic check valve that allows the high fuel pressure to bleed off into the fuel return chamber directly above it, when the piezo actuator is energized and the valve piston pushes down on it.

Fuel Injector Valve Return Spring

The fuel injector valve return spring holds the fuel injector valve in the sealed position to prevent any fuel from leaking into the fuel return chamber when the piezo actuator is not energized.

Control Piston

The control piston uses its large surface area on top as a downward force to overcome an upward force created by the smaller surface area in the high pressure chamber. The control piston also keeps the nozzle needle in the closed position when the piezo actuator is not energized.

Nozzle Needle and Needle Control Spring

The high pressure chamber uses the high fuel pressure to lift the nozzle needle inwards whenever the piezo actuator is energized. When the nozzle needle is lifted the fuel at the high pressure nozzle is atomized and is injected directly into the combustion chamber through 6 spray holes. The needle control spring is used to hold the nozzle needle in a closed position when the piezo actuator is not energized.

Fuel Level Input

Fuel level information is sent from the instrument cluster to the PCM on the controller area network (CAN) communication link.

Fuel Pressure Control Valve

The PCM controls the fuel rail pressure (FRP) by activating the fuel pressure control valve which regulates the fuel pressure at the outlet of the high pressure fuel injection pump. Refer to the Fuel System, Fuel Pump System. The PCM regulates FRP by controlling the on/off time of the fuel pressure control valve solenoid. An increase or decrease in the on/off lime positions maintains pressure in the fuel system or vents pressure to the fuel cooler. A high duty cycle indicates a high FRP is being commanded. A low duty cycle indicates less pressure is being commanded. The fuel pressure control valve is mounted on the top rear of the engine in the high pressure fuel injection pump cover and is integrated to the high pressure fuel injection pump. [1][2]Fuel System


Fuel Pressure Control Valve:






Fuel Volume Control Valve

The PCM controls the volume of low pressure fuel that enters the inlet one-way check valve and 3 main pump pistons by activating the fuel volume control valve. Refer to the Fuel System, Fuel Pump System. The PCM regulates fuel volume by controlling the on/off time of the fuel volume control valve solenoid. A high duty cycle indicates a high fuel volume is being commanded. A low duty cycle indicates less volume is being commanded. The fuel volume control valve is mounted on the top rear of the engine in the high pressure fuel injection pump cover and is integrated to the high pressure fuel injection pump. [1][2]Fuel System


Fuel Volume Control Valve:






Fuel Rail Pressure (FRP) Sensor

The FRP sensor is a diaphragm strain gauge device in which resistance changes with pressure. The electrical resistance of a strain gauge increases as pressure increases, and the resistance decreases as the pressure decreases. The varying resistance affects the voltage drop across the sensor terminals and provides electrical signals to the PCM corresponding to pressure. The FRP sensor is located on the fuel rail and its primary function is to provide a feedback signal to indicate the fuel rail pressure so that the PCM can command the correct injector timing, pulse width, and the correct injection control pressure for proper fuel delivery at all speed and load conditions. The FRP sensor along with the fuel pressure control valve form a closed loop fuel pressure control system.


Fuel Rail Pressure (FRP) Sensor:






Fuel Rail Temperature (FRT) Sensor

The FRT sensor is a thermistor device in which resistance changes with temperature and is located at the base of the secondary fuel filter housing. The electrical resistance of the thermistor decreases as the temperature increases, and the resistance increases as the temperature decreases. The varying resistance changes the voltage drop across the sensor terminals and provides electrical feedback signal to the PCM corresponding to temperature. The FRT sensor measures the temperature of the fuel at the secondary fuel filter and provides a feedback signal to the PCM. The PCM uses the FRT sensor input to command the cooling fan, the correct injector timing, the pulse width, and the correct injection control pressure for proper fuel delivery at all speed and load conditions.


Fuel Rail Temperature (FRT) Sensor:






Glow Plug

The glow plug improves ignition during cold engine starts by heating air in the combustion chamber when the key is first turned on. The glow plugs are made of a resistive material that heats up when electricity flows through it. The glow plugs are controlled by the glow plug control module (GPCM) and are activated when direct battery voltage is applied. Refer to the Powertrain Control Hardware Glow Plug Control Module (GPCM) on glow plug system operation. Powertrain Control Hardware


Glow Plug:






Glow Plug Indicator

The glow plug indicator is located in the instrument cluster and is used to inform the operator when the engine is ready to be started. The indicator is controlled by the instrument cluster based on an electronic command signal from the PCM through the CAN. The on-time normally varies between 1 and 10 seconds and is independent of the glow plug relay on-time. As a prove out, the indicator is commanded on at every key cycle even though the glow plug system may not be operating.

High Pressure Fuel Injection Pump

The high pressure fuel injection pump is gear driven by the camshaft gear and is located at the rear of the engine. It increases the fuel pressure from approximately 34.5-41.3 kPa (5-6 psi) up to 169.96 MPa (24,650 psi) and delivers it to the fuel rails.


High Pressure Fuel Injection Pump:






Inertia Fuel Shutoff (IFS) Switch

The purpose of the IFS switch is to shutoff the fuel pump if a collision occurs. It is located in the passenger side kick panel and it consists of a steel ball held in place by a magnet. When an impact occurs, the ball breaks loose from the magnet, rolls up a conical ramp and strikes a target plate which opens the electrical contacts of the switch and shuts off the electric fuel pump in the fuel conditioning module. Once the switch is open, it must be manually reset before restarting the vehicle. To reset the IFS switch, the button on top of the switch must be pushed down.


Inertia Fuel Shutoff (IFS) Switch:






Intake Air Temperature (IAT) Sensor

The IAT sensor is a thermistor device. The electrical resistance of a thermistor decreases as the temperature increases, and resistance increases as the temperature decreases. The varying resistance affects the voltage drop across the sensor providing a signal corresponding to temperature. The AT is integrated with the mass air flow (MAF) sensor, known as the MAF/IAT sensor.

Intake Air Temperature 2 (IAT2) Sensor

The IAT2 sensor is a thermistor device. The electrical resistance of a thermistor decreases as the temperature increases, and resistance increases as the temperature decreases. The varying resistance affects the voltage drop across the sensor providing a signal corresponding to temperature.

The IAT2 sensor is located in the intake manifold. The sensor provides a manifold air temperature signal to the PCM. The PCM uses the IAT2 signal to control timing and fuel rate during cold starts and provide an input to the cold idle kicker.


Intake Air Temperature 2 (IAT2) Sensor:






Intake Throttle

The intake throttle modifies the intake airflow from the charge air cooler (CAC) into the exhaust gas recirculation (EGR) mixing elbow and into the intake manifold. The intake throttle uses an electric motor to open and close a throttle plate, based upon inputs from the PCM. The intake throttle actuator is a smart device, which is controlled by a pulse width modulated (PWM) signal to attain the desired position using the ITVC (control) circuit. The intake throttle actuator determines the gains and control for the desired position. The desired position is between 5% and 95%.

The intake throttle actuator signals the intake throttle plate status to the PCM using the ITVF (feedback) circuit. If the feedback signal is 12 volts, the throttle plate is at the desired position. If the feedback signal is low, a DTC is set indicating the throttle plate is not at the desired position or is out of range. The feedback signal does not indicate actual throttle plate position.

The intake throttle is used only during diesel particulate filter regeneration events for air/fuel ratio control.


Intake Throttle:






Manifold Absolute Pressure (MAP) Sensor

The MAP sensor is a variable capacitor sensor that is supplied a 5-volt reference signal by the PCM and returns a voltage signal to the PCM relative to the intake manifold pressure. The sensor voltage increases as the pressure increases. The MAP sensor allows the PCM to determine the engine boost to calculate fuel quantity. In addition, the MAP signal is used to control smoke by limiting fuel quantity during acceleration until a specified boost pressure is obtained, and is used by the PCM for EGR system calculations and control.

A MAP signal concern (an incorrect signal from the MAP sensor), when detected by the PCM, results in the PCM using an estimated, calculated manifold pressure that is derived from known engine conditions in place of the signal from the sensor.

An open or short in the MAP sensor wiring results in an out of range high or low voltage, at the PCM.

The output of the sensor ranges from 0.175 volts at 28.6 kPa (4.15 psi) to 4.825 volts at 616.5 kPa (89.42 psi). At an atmospheric pressure of 101 kPa (14.65 psi) the output of the sensor is between 0.67 and 0.82 volt.


Manifold Absolute Pressure (MAP) Sensor:






Mass Air Flow (MAF) Sensor

The MAF sensor provides a signal to the PCM proportional to the intake air mass. The MAF sensor uses a hot wire sensing element to measure the amount of air entering the engine. The hot wire is maintained at a constant temperature above ambient. Air passing over the hot wire cools the wire. The current required to maintain the temperature of the hot wire is proportional to the air flow.

The MAF sensor is a digital sensor that provides an output signal of varying frequency. The signal's time period is proportional to the flow rate crossing the sensor. The greater the air flow the greater the time period. The time period varies from 130 microseconds (15 kHz) at a low flow or idle condition, to 530 microseconds (1.9 kHz) at a high flow rate condition. If the sensor element is broken the diagnostic mode default output of the sensor will be 4650 microseconds (215 Hz).


Mass Air Flow (MAF) Sensor:






Power Take-Off

The power take-off (PTO) system provides an input signal to the PCM indicating there is an additional load being applied to the engine. The PCM disables the on-board diagnostic (OBD) monitors and increases the engine RPM based on the PTO system or auxiliary idle control input.

Turbocharger

The turbocharger assembly is an exhaust-driven centrifugal compressor. Expanding exhaust gases drive the turbine shaft assembly to speeds over 100,000 RPM. The two stage variable turbocharger geometry is controlled by the turbocharger actuator.


Turbocharger:






Turbocharger Actuator

The turbocharger actuator has internal diagnostics capability and sends information to the PCM for DTC generation. The PCM monitors and controls the turbocharger geometry using the CAN. The turbocharger actuator controls the turbocharger geometry using an external mechanical linkage arm from the actuator to the turbocharger. The turbocharger actuator is used to continually adjust the vanes of a turbocharger. By adjusting the vanes, the exhaust gas flow can be routed to the turbine wheel at optimum efficiency.

The turbocharger actuator is cooled using the fuel cooling system to maintain a temperature below 145°C (293°F). The turbocharger actuator will not respond to PCM commands when its internal temperature is greater than 145°C (293°F) and a DTC is set. When the internal temperature falls below 135°C (275°F) the turbocharger actuator resumes normal operation.

The PCM reduces engine torque when the actuator temperature or engine coolant temperature is too high.


Turbocharger Actuator: