Operation CHARM: Car repair manuals for everyone.
Manuals through 2025 now available!

Our trusted friends have launched a new website named LEMON, which has newer manuals. It also contains all the CHARM manuals.

LEMON is the spiritual successor to CHARM, I recommend you try it!

Link: lemon-manuals.la or lemon-manuals.org.ua

(Some people have issue connecting. LEMON is investigating. For now, use Firefox or change your DNS server)

Or, hide this message: temporarily or permanently

Tool Link(TM) Reader




Tool Link(TM) Reader

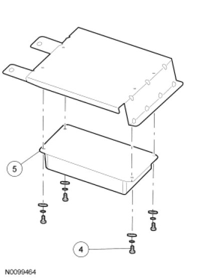
SuperCab










Regular Cab, Crew Cab - Bracket Assembly










Regular Cab, Crew Cab - Tool Link(TM) Reader









Removal and Installation

1. Remove the 3 screws and the Tool Link(TM) reader and bracket as an assembly.
- Disconnect the electrical connectors.

2. Remove the 4 screws and the Tool Link(TM) reader.

3. To install, reverse the removal procedure.