Operation CHARM: Car repair manuals for everyone.
Manuals through 2025 now available!

Our trusted friends have launched a new website named LEMON, which has newer manuals. It also contains all the CHARM manuals.

LEMON is the spiritual successor to CHARM, I recommend you try it!

Link: lemon-manuals.la or lemon-manuals.org.ua

(Some people have issue connecting. LEMON is investigating. For now, use Firefox or change your DNS server)

Or, hide this message: temporarily or permanently

Part 2



Engine

Assembly

41. Install the oil pump chain tensioner. Hook the tensioner spring around the shoulder bolt.
^ Tighten to 10 Nm (89 lb-in).





42. CAUTION: The special tool (303-465) is for camshaft alignment only. Using this tool to prevent engine rotation can result in engine damage.

Install the special tool in the slots on the rear of both camshafts.





43. Install the camshaft sprockets and the bolts. Do not tighten the bolts at this time.





44. Install the LH timing chain guide and the 2 bolts.
^ Tighten to 10 Nm (89 lb-in).





45. Install the timing chain.





46. Install the RH timing chain guide.





47. CAUTION: Do not compress the ratchet assembly. This will damage the ratchet assembly.

Using the edge of a vise, compress the timing chain tensioner plunger.





48. Using a small pick, push back and hold the ratchet mechanism.





49. While holding the ratchet mechanism, push the ratchet arm back into the tensioner housing.





50. Install a paper clip into the hole in the tensioner housing to hold the ratchet assembly and the plunger in during installation.





51. Install the timing chain tensioner and the 2 bolts. Remove the paper clip to release the piston.
^ Tighten to 10 Nm (89 lb-in).





52. CAUTION: The special tool (303-465) is for camshaft alignment only. Using this tool to prevent engine rotation can result in engine damage.

Using the flats on the camshafts to prevent camshaft rotation, tighten the camshaft drive gear bolts to 72 Nm (53 lb-ft).





53. CAUTION: Do not use metal scrapers, wire brushes, power abrasive disks or other abrasive means to clean sealing surfaces. These tools cause scratches and gouges which make leak paths.

Clean and inspect the mounting surfaces of the engine and the front cover.

54. NOTE: The engine front cover must be installed and the bolts tightened within 4 minutes of applying the silicone gasket and sealant.

Apply a 2.5 mm (0.10 in) bead of silicone gasket and sealant to the cylinder head and oil pan joint areas. Apply a 2.5 mm (0.10 in) bead of silicone gasket and sealant to the front cover.





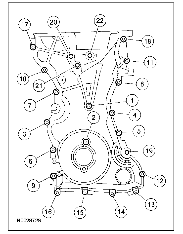
55. Install the engine front cover. Tighten the 22 bolts in the sequence shown to the following specifications:
^ Tighten the 8-mm bolts to 10 Nm (89 lb-in).
^ Tighten the 13-mm bolts to 48 Nm (35 lb-ft).





56. NOTE: Remove the through-bolt from the special tool.

NOTE: Lubricate the oil seal with clean engine oil.

Using the special tool, install a new crankshaft front seal.





57. NOTE: Do not install the crankshaft pulley bolt at this time.

NOTE: Apply clean engine oil on the seal area before installing.

Position the crankshaft pulley onto the crankshaft with the hole in the pulley at the 6 o'clock position.





58. CAUTION: Only hand-tighten the 6 mm (0.23 in) bolt or damage to the front cover can occur.

NOTE: This step will correctly align the crankshaft pulley to the crankshaft.

Install a standard 6 mm (0.23 in) x 18 mm (0.7 in) bolt through the crankshaft pulley and thread it into the front cover.





59. CAUTION: The crankshaft must remain in the top dead center (TDC) position during installation of the pulley bolt or damage to the engine can occur. Therefore, the crankshaft pulley must be held in place with the special tool and the bolt should be installed using hand tools only.

CAUTION: Do not reuse the crankshaft pulley bolt.

Install a new crankshaft pulley bolt. Using the special tools to hold the crankshaft pulley in place, tighten the crankshaft pulley bolt in 2 stages:
^ Stage 1: Tighten to 100 Nm (74 lb-ft).
^ Stage 2: Tighten an additional 90 degrees (1/4 turn).





60. Remove the 6 mm (0.23 in) x 18 mm (0.7 in) bolt.