Operation CHARM: Car repair manuals for everyone.
Manuals through 2025 now available!

Our trusted friends have launched a new website named LEMON, which has newer manuals. It also contains all the CHARM manuals.

LEMON is the spiritual successor to CHARM, I recommend you try it!

Link: lemon-manuals.la or lemon-manuals.org.ua

(Some people have issue connecting. LEMON is investigating. For now, use Firefox or change your DNS server)

Or, hide this message: temporarily or permanently

Fluid - M/T: Service and Repair




MTX75

Transaxle Draining and Filling





1. With the vehicle in NEUTRAL, position it on a hoist.

2. Remove the drain plug and drain the transaxle.

3. Clean and install the drain plug.
- Tighten to 35 Nm (26 lb-ft).

4. NOTE: Before removing, clean the area around the filler plug.

Remove the fill plug.





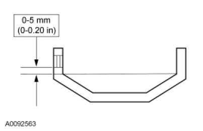
5. Using a suitable oil suction gun, fill the transaxle to the correct level with the specified fluid.
- Transaxle fluid level: 0.0-5.0 mm (0.0-0.2 in) below the lower edge of the filler plug bore.





6. Install the fill plug.
- Tighten to 35 Nm (26 lb-ft).