Operation CHARM: Car repair manuals for everyone.
Manuals through 2025 now available!

Our trusted friends have launched a new website named LEMON, which has newer manuals. It also contains all the CHARM manuals.

LEMON is the spiritual successor to CHARM, I recommend you try it!

Link: lemon-manuals.la or lemon-manuals.org.ua

(Some people have issue connecting. LEMON is investigating. For now, use Firefox or change your DNS server)

Or, hide this message: temporarily or permanently

Timing Component Alignment Marks: Locations




Timing Chain Alignment

NOTICE: Since the engine is not free-wheeling, timing procedures must be followed exactly or piston and valve damage can occur.

WARNING: Before servicing a vehicle equipped with a fire suppression system, depower the system by following the procedure. Failure to follow the instructions may result in serious personal injury.

NOTICE: Timing chain procedure must be followed exactly or damage to valves and pistons will result.

If the colored links are not visible, mark one link on one end and one link on the other end, and use as timing marks.






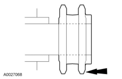
Install the crankshaft sprocket, making sure the flange faces forward.






Rotate the RH camshaft sprocket until the timing mark is approximately at the 11 o'clock position. Rotate the LH camshaft sprocket until the timing mark is approximately at the 1 o'clock position.






Position the LH (inner) timing chain on the crankshaft sprocket, aligning the colored (marked) link with the timing mark on the sprocket.






Install the LH timing chain on the sprocket, aligning the colored (marked) link with the timing marks on the sprocket.






Position the RH (outer) timing chain on the crankshaft sprocket, aligning the colored (marked) link with the timing mark on the sprocket.






Install the RH timing chain on the camshaft sprocket, aligning the colored (marked) link with the timing marks on the sprocket.







Make sure that the colored (marked) chain links are lined up with the dots on the crankshaft sprocket and the camshaft sprockets.