Operation CHARM: Car repair manuals for everyone.
Manuals through 2025 now available!

Our trusted friends have launched a new website named LEMON, which has newer manuals. It also contains all the CHARM manuals.

LEMON is the spiritual successor to CHARM, I recommend you try it!

Link: lemon-manuals.la or lemon-manuals.org.ua

(Some people have issue connecting. LEMON is investigating. For now, use Firefox or change your DNS server)

Or, hide this message: temporarily or permanently

Crankshaft Main Bearing










Main Bearing Cap

NOTE: The jackscrews are a part of the main bearing cap assembly and are screwed into the main caps, not the cylinder block.

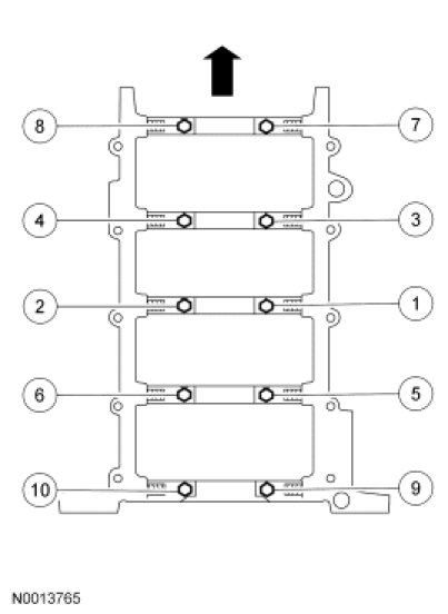
Back out the 10 jackscrews against the cylinder block in 2 stages, in the sequence shown.
Stage 1: Tighten to 5 Nm (44 lb-in).
Stage 2: Tighten to 10 Nm (89 lb-in).







Install the 10 main bearing cap bolts and tighten in 2 stages, in the sequence shown.
Stage 1: Tighten to 10 Nm (89 lb-in).
Stage 2: Tighten to 21 Nm (15 lb-ft).






Tighten the 10 main bearing cap bolts in 2 stages, in the sequence shown.
Stage 1: Tighten to 40 Nm (30 lb-ft).
Stage 2: Tighten an additional 90 degrees.