Operation CHARM: Car repair manuals for everyone.
Manuals through 2025 now available!

Our trusted friends have launched a new website named LEMON, which has newer manuals. It also contains all the CHARM manuals.

LEMON is the spiritual successor to CHARM, I recommend you try it!

Link: lemon-manuals.la or lemon-manuals.org.ua

(Some people have issue connecting. LEMON is investigating. For now, use Firefox or change your DNS server)

Or, hide this message: temporarily or permanently

Cylinder Head Assembly

Cylinder Head

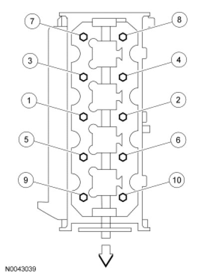
Tighten the 10 new LH cylinder head bolts in 3 stages, in the sequence shown.

Stage 1: Tighten to 40 Nm (30 lb-ft).
Stage 2: Tighten an additional 90 degrees.
Stage 3: Tighten an additional 90 degrees.






Tighten the 10 new RH cylinder head bolts in 3 stages, in the sequence shown.

Stage 1: Tighten to 40 Nm (30 lb-ft).
Stage 2: Tighten an additional 90 degrees.
Stage 3: Tighten an additional 90 degrees.






Bolt Re-usability

NOTE: The cylinder head bolts must be discarded and new bolts installed. They are a tighten-to-yield design and cannot be reused.

Surface Variation -- Head-to-Block, Head-to-Manifolds and Surface Variation -- Warpage













a Time required for the plunger to leak down 1.6 mm of travel with 222 N force and leak-down fluid in the lash adjuster.

b The pin bore and crank bearing bore must be parallel and in the same vertical plane within the specified total difference when measured at the ends of a 203 mm bar, 105.5 mm on each side of rod centerline.

Camshaft Bearing Cap

Install the camshaft and the camshaft bearing caps in their original locations.

NOTE: LH shown, RH similar.

Tighten the 13 bolts in the sequence shown.
Tighten to 10 Nm (89 lb-in).






Intake Manifold Specifications

Exhaust Manifold Specifications

Camshaft Gear/Sprocket Torque Specifications